授权公布号:CN206393486U
一种异形板材固定装置
有效
申请
2016-12-07
申请公布
1970-01-01
授权
2017-08-11
预估到期
2026-12-07
| 申请号 | CN201621331346.0 |
| 申请日 | 2016-12-07 |
| 授权公布号 | CN206393486U |
| 授权公告日 | 2017-08-11 |
| 分类号 | B25B11/00 |
| 分类 | 手动工具;轻便机动工具;手动器械的手柄;车间设备;机械手; |
| 申请人名称 | 合肥市瑞丽宜家家居有限公司 |
| 申请人地址 | 安徽省合肥市庐阳区大杨产业园大创路6号 |
专利法律状态
2017-08-11
授权
状态信息
授权
摘要
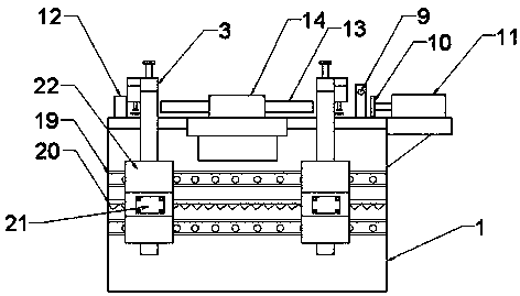
本实用新型公开了一种异形板材固定装置,包括设有工作台的机架、设于工作台上的定位机构、设于定位机构上方的紧压装置,所述紧压装置设有多个,分设于工作台前后两侧;所述紧压装置包括紧压支架、紧压气缸、紧压块、导向杆、弹簧及滚轮,所述紧压气缸的缸体固定于紧压支架上,所述紧压块设于紧压支架下方,所述紧压气缸的活塞杆末端与紧压块固定连接,所述导向杆设有两根,对称设于紧压气缸两侧,所述导向杆通过导向套滑动穿设过紧压支架并与紧压块固定连接,滚轮设于紧压块的底部,所述弹簧穿设于导向杆上并位于紧压支架和紧压块之间。本实用新型实现自动定位,快速固定,提高生产效率,降低工人的劳动强度,提高自动化生产水平。


