授权公布号:CN107031957B
包装盒
有效
申请
2017-04-28
申请公布
2017-08-11
授权
2023-06-30
预估到期
2037-04-28
| 申请号 | CN201710299203.9 |
| 申请日 | 2017-04-28 |
| 申请公布号 | CN107031957A |
| 申请公布日 | 2017-08-11 |
| 授权公布号 | CN107031957B |
| 授权公告日 | 2023-06-30 |
| 分类号 | B65D5/4805 |
| 分类 | 输送;包装;贮存;搬运薄的或细丝状材料; |
| 申请人名称 | 广东顶固集创家居股份有限公司 |
| 申请人地址 | 广东省中山市东凤镇和穗工业园 |
专利法律状态
2023-06-30
授权
状态信息
授权
2017-09-05
实质审查的生效
状态信息
实质审查的生效;IPC(主分类):B65D5/4805;申请日:20170428
2017-08-11
公布
状态信息
公布
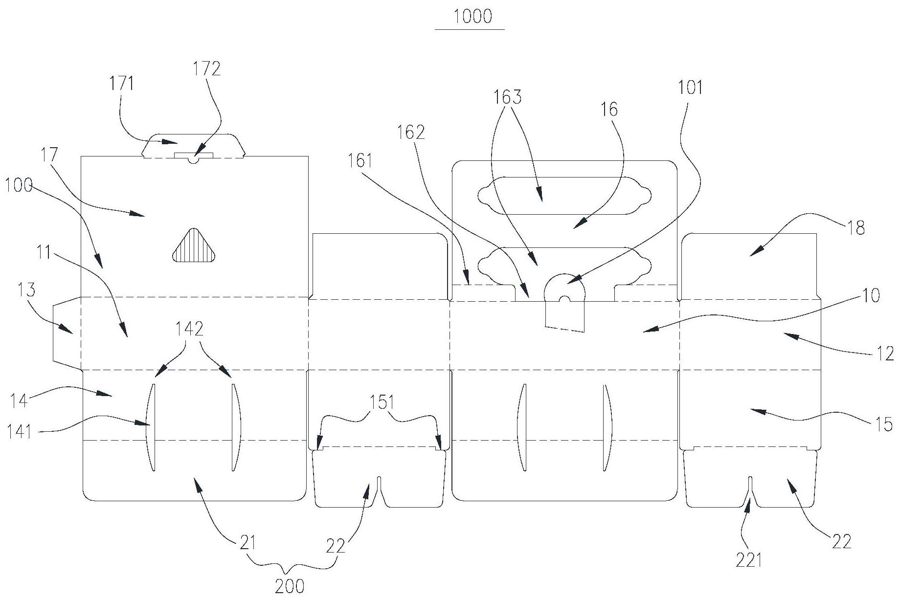
摘要
本发明提供一种包装盒,包括盒体和垂直地置于所述盒体内的自带纸卡,所述自带纸卡与所述盒体一体成型。本发明的包装盒,通过将自带纸卡与盒体一体成型,可通过一纸剪裁成型,有利于节省材料,其中自带纸卡可迅速组合在盒体内形成纸盒隔板,从而将纸盒的盒体进行分区便于分类放置产品,有利于提高产品的装箱效率和降低成本。


