授权公布号:CN218912637U
一种安全门门架的双下档结构
有效
申请
2023-01-06
申请公布
1970-01-01
授权
2023-04-25
预估到期
2033-01-06
| 申请号 | CN202320048195.1 |
| 申请日 | 2023-01-06 |
| 授权公布号 | CN218912637U |
| 授权公告日 | 2023-04-25 |
| 分类号 | E06B1/70 |
| 分类 | 一般门、窗、百叶窗或卷辊遮帘;梯子; |
| 申请人名称 | 春天集团有限公司 |
| 申请人地址 | 浙江省金华市永康市花街镇工业基地 |
专利法律状态
2023-08-11
专利权质押合同登记的生效、变更及注销
状态信息
专利权质押合同登记的生效;IPC(主分类):E06B1/70;登记号:Y2023980049564;登记生效日:20230724;出质人:春天集团有限公司;质权人:浙江永康农村商业银行股份有限公司花街支行;实用新型名称:一种安全门门架的双下档结构;申请日:20230106;授权公告日:20230425
2023-04-25
授权
状态信息
授权
摘要
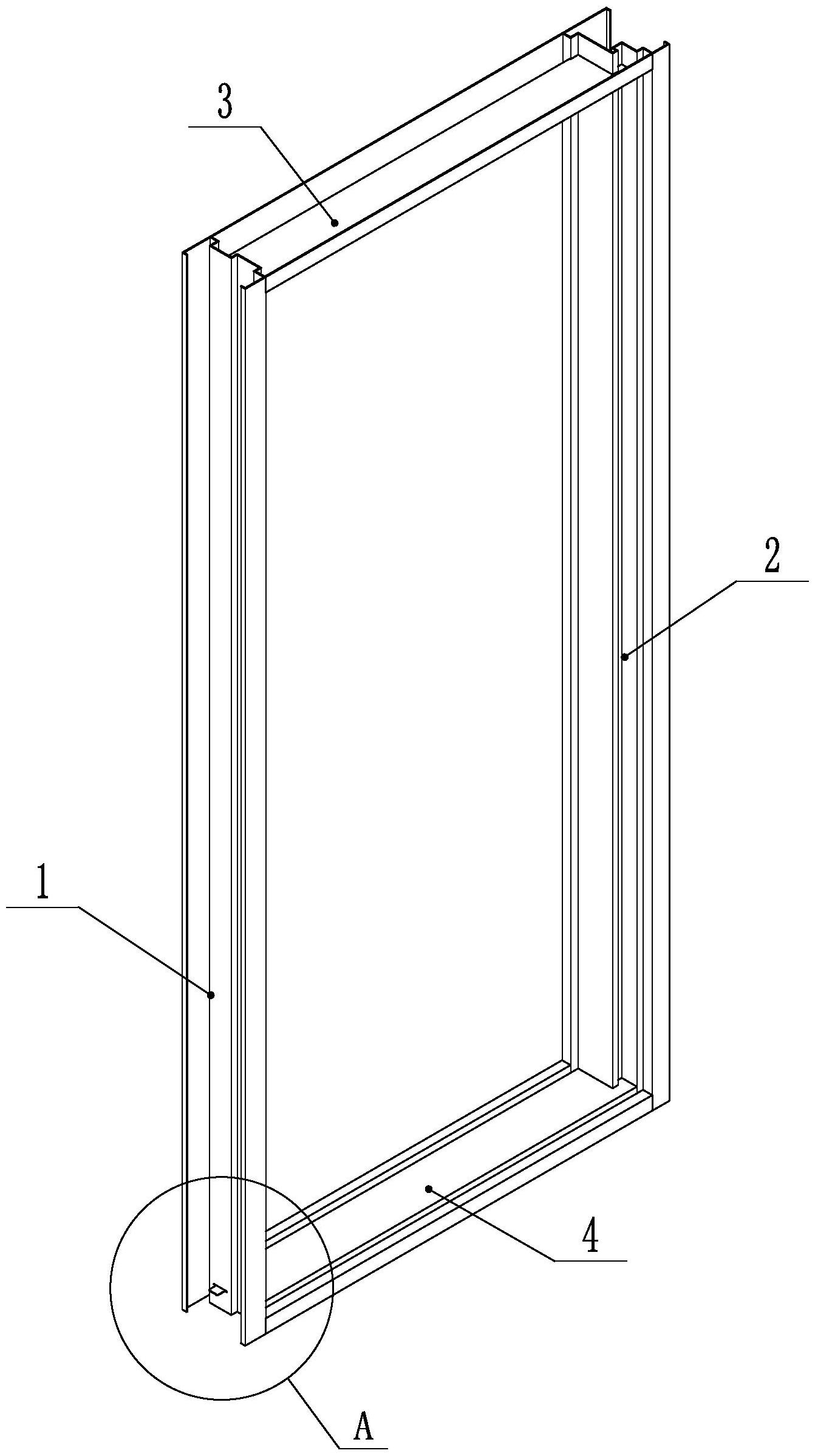
本实用新型公开了一种安全门门架的双下档结构,涉及安全门领域。安全门门架传统的做法是门架组合好以后把下档盖起来再做颜色,容易把颜色不小心弄到下档上去,而下档要去除颜色不但需要增加人力,而且去除也较困难。本实用新型的下档包括内档、外档和加强筋,在外档安装前,利用内档先实现门架两侧的门架锁档2和门架铰链档1的初步固定和颜色处理,最后外套外档并焊接固定。这样,处于外表的外档不会在门架颜色处理时沾上颜色,结构简单,操作方便,简化了双下档安装工艺,有效降低了人力成本。


