授权公布号:CN218816126U
一种门芯板锁盒腔结构
有效
申请
2022-12-31
申请公布
1970-01-01
授权
2023-04-07
预估到期
2032-12-31
| 申请号 | CN202223604597.X |
| 申请日 | 2022-12-31 |
| 授权公布号 | CN218816126U |
| 授权公告日 | 2023-04-07 |
| 分类号 | E06B7/16;E06B3/72;E06B5/16 |
| 分类 | 一般门、窗、百叶窗或卷辊遮帘;梯子; |
| 申请人名称 | 春天集团有限公司 |
| 申请人地址 | 浙江省金华市永康市花街镇工业基地 |
专利法律状态
2023-08-11
专利权质押合同登记的生效、变更及注销
状态信息
专利权质押合同登记的生效;IPC(主分类):E06B7/16;登记号:Y2023980049564;登记生效日:20230724;出质人:春天集团有限公司;质权人:浙江永康农村商业银行股份有限公司花街支行;实用新型名称:一种门芯板锁盒腔结构;申请日:20221231;授权公告日:20230407
2023-04-07
授权
状态信息
授权
摘要
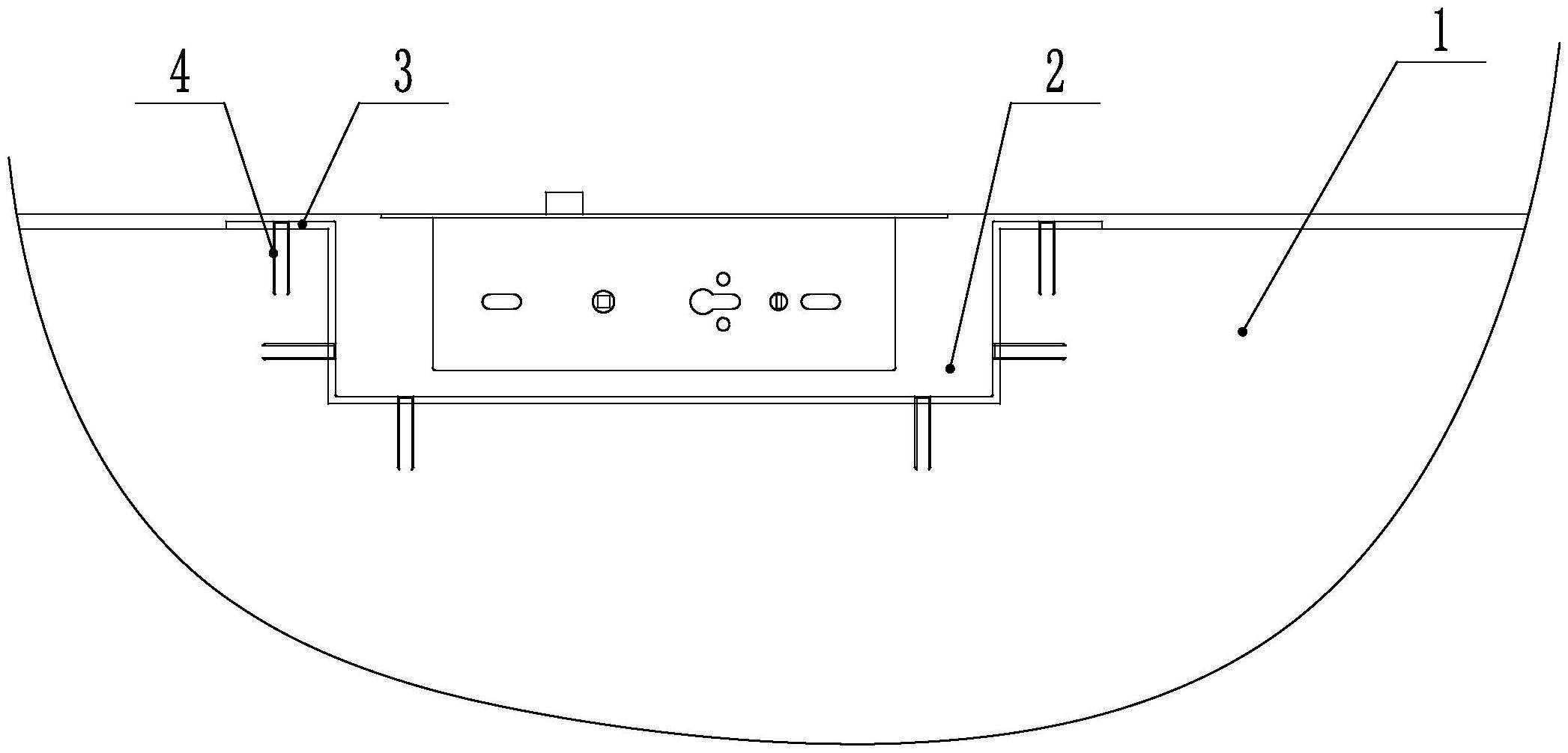
本实用新型公开了一种门芯板锁盒腔结构,涉及防火门领域。现有的防火门由于防火需要,门扇内部填充防火门芯板,由于密闭性不够,防火门芯板内部填充物受潮后会引起的发霉发臭,也有采用用塑料覆膜包覆防火门芯板四周,防止防火门芯板腐臭,但在防火门芯板装锁的锁盒位置处的膜,却比较容易从锁盒腔内脱落,降低了锁盒腔位置的密闭性能。本实用新型中,门芯板上的锁盒腔的内腔和外周沿贴合覆盖一条珍珠棉包覆层,珍珠棉包覆层通过多个U形钢销插入固定到门芯板内。本结构在门芯板的锁盒腔处形成一个密闭空间,有效提升了门芯板在锁盒腔处的密封性能,防止门芯板因水汽受潮而发霉发臭的问题产生。


