授权公布号:CN218912600U
一种使用天地轴合页的铁门
有效
申请
2022-12-31
申请公布
1970-01-01
授权
2023-04-25
预估到期
2032-12-31
| 申请号 | CN202223613365.0 |
| 申请日 | 2022-12-31 |
| 授权公布号 | CN218912600U |
| 授权公告日 | 2023-04-25 |
| 分类号 | E05D7/081;E05D5/02 |
| 分类 | 锁;钥匙;门窗零件;保险箱; |
| 申请人名称 | 春天集团有限公司 |
| 申请人地址 | 浙江省金华市永康市花街镇工业基地 |
专利法律状态
2023-08-11
专利权质押合同登记的生效、变更及注销
状态信息
专利权质押合同登记的生效;IPC(主分类):E05D7/081;登记号:Y2023980049564;登记生效日:20230724;出质人:春天集团有限公司;质权人:浙江永康农村商业银行股份有限公司花街支行;实用新型名称:一种使用天地轴合页的铁门;申请日:20221231;授权公告日:20230425
2023-04-25
授权
状态信息
授权
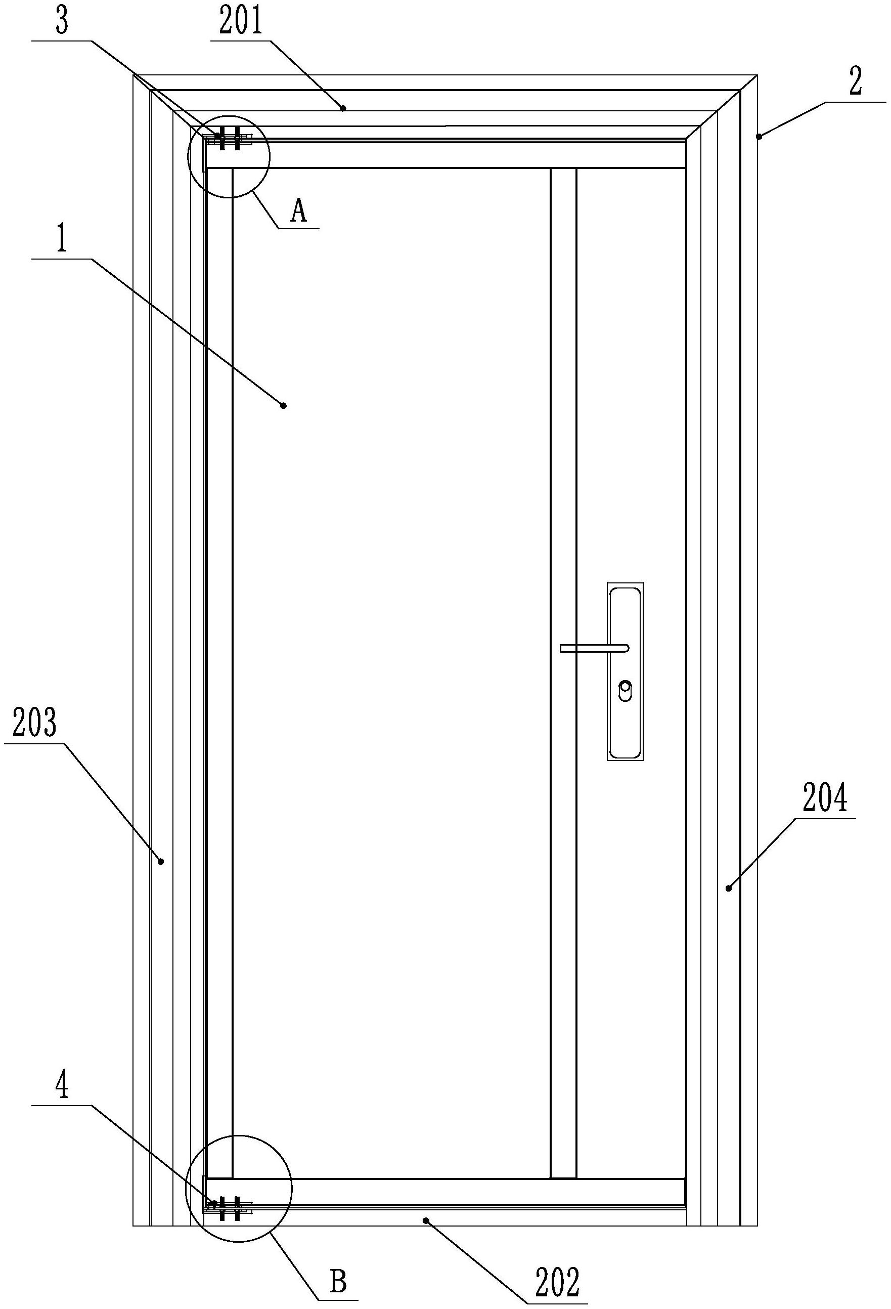
摘要
本实用新型公开了一种使用天地轴合页的铁门,涉及防盗门领域。门扇制作时使用的合页大多采用明合页或暗合页,明合页的转动轴暴露在外,容易被割,门扇容易被撬,暗合页的开合角度一般只有90度,应用场合具有局限性,无法满足客户的需求。本实用新型包括门扇、门框、上合页和下合页,上合页和下合页采用天地轴合页,上合页设于门扇的顶部和门框的顶框之间,下合页设于门扇的底部和门框的底框之间。通过在铁门上使用天地轴合页代替传统的明合页或暗合页,门扇关闭后,从室内外均无法看到合页,可有效避免合页暴露在外,避免合页被观察到而导致铁门被撬,且合页的开合角度能达到180度,能适应更多的铁门安装场地。


