授权公布号:CN211489273U
一种多功能模具
有效
申请
2019-12-25
申请公布
1970-01-01
授权
2020-09-15
预估到期
2029-12-25
| 申请号 | CN201922372393.X |
| 申请日 | 2019-12-25 |
| 授权公布号 | CN211489273U |
| 授权公告日 | 2020-09-15 |
| 分类号 | B21D37/08;B21D37/10 |
| 分类 | 基本上无切削的金属机械加工;金属冲压; |
| 申请人名称 | 春天集团有限公司 |
| 申请人地址 | 浙江省金华市永康市花街工业生产基地 |
专利法律状态
2020-09-15
授权
状态信息
授权
摘要
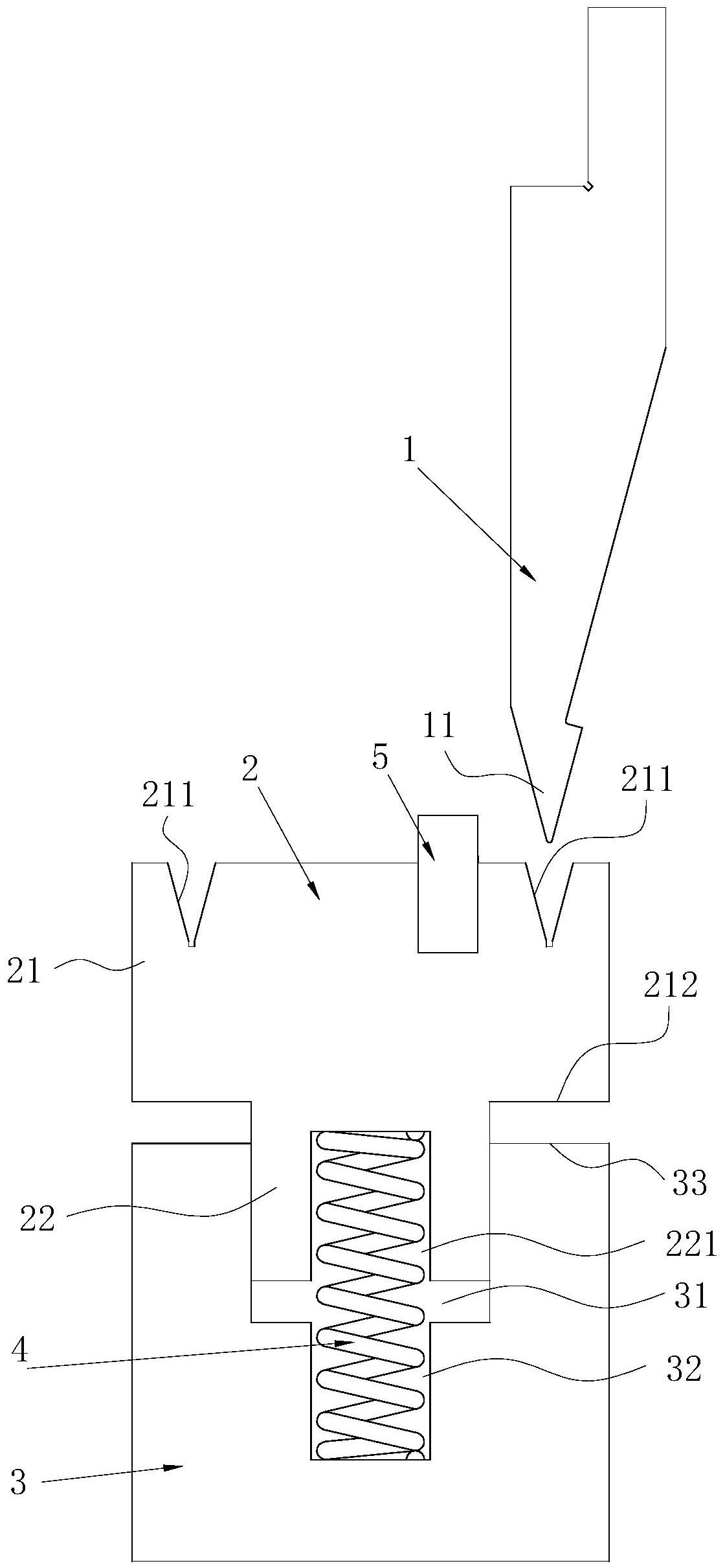
本实用新型属于门制造技术领域,具体涉及一种多功能模具。现有板材折弯压扁采用的设备不够合理的不足,本实用新型采用如下技术方案:一种多功能模具,所述多功能模具包括:折弯上模,所述折弯上模下端具有折弯凸部;折弯下模组件,所述折弯下模组件包括下模动件、下模定件和对下模动件产生向上作用力的复位件,所述下模动件上端具有与折弯凸部配合的折弯凹槽,所述下模动件下端具有定位凸部,所述下模定件上端具有与定位凸部配合的定位凹槽,所述下模动件可升降的设于下模定件中,所述下模动件和下模定件形成压扁工作面。本实用新型的有益效果是:可在一台设备上实现折弯压扁操作,操作简单,生产效率高。


