授权公布号:CN218934223U
一种铸铝门扇
有效
申请
2022-12-31
申请公布
1970-01-01
授权
2023-04-28
预估到期
2032-12-31
| 申请号 | CN202223581820.3 |
| 申请日 | 2022-12-31 |
| 授权公布号 | CN218934223U |
| 授权公告日 | 2023-04-28 |
| 分类号 | E06B3/70;E06B5/20;E06B3/96;B32B21/02;B32B15/20;B32B15/18;B32B15/10 |
| 分类 | 一般门、窗、百叶窗或卷辊遮帘;梯子; |
| 申请人名称 | 春天集团有限公司 |
| 申请人地址 | 浙江省金华市永康市花街镇工业基地 |
专利法律状态
2023-08-11
专利权质押合同登记的生效、变更及注销
状态信息
专利权质押合同登记的生效;IPC(主分类):E06B3/70;登记号:Y2023980049564;登记生效日:20230724;出质人:春天集团有限公司;质权人:浙江永康农村商业银行股份有限公司花街支行;实用新型名称:一种铸铝门扇;申请日:20221231;授权公告日:20230428
2023-04-28
授权
状态信息
授权
摘要
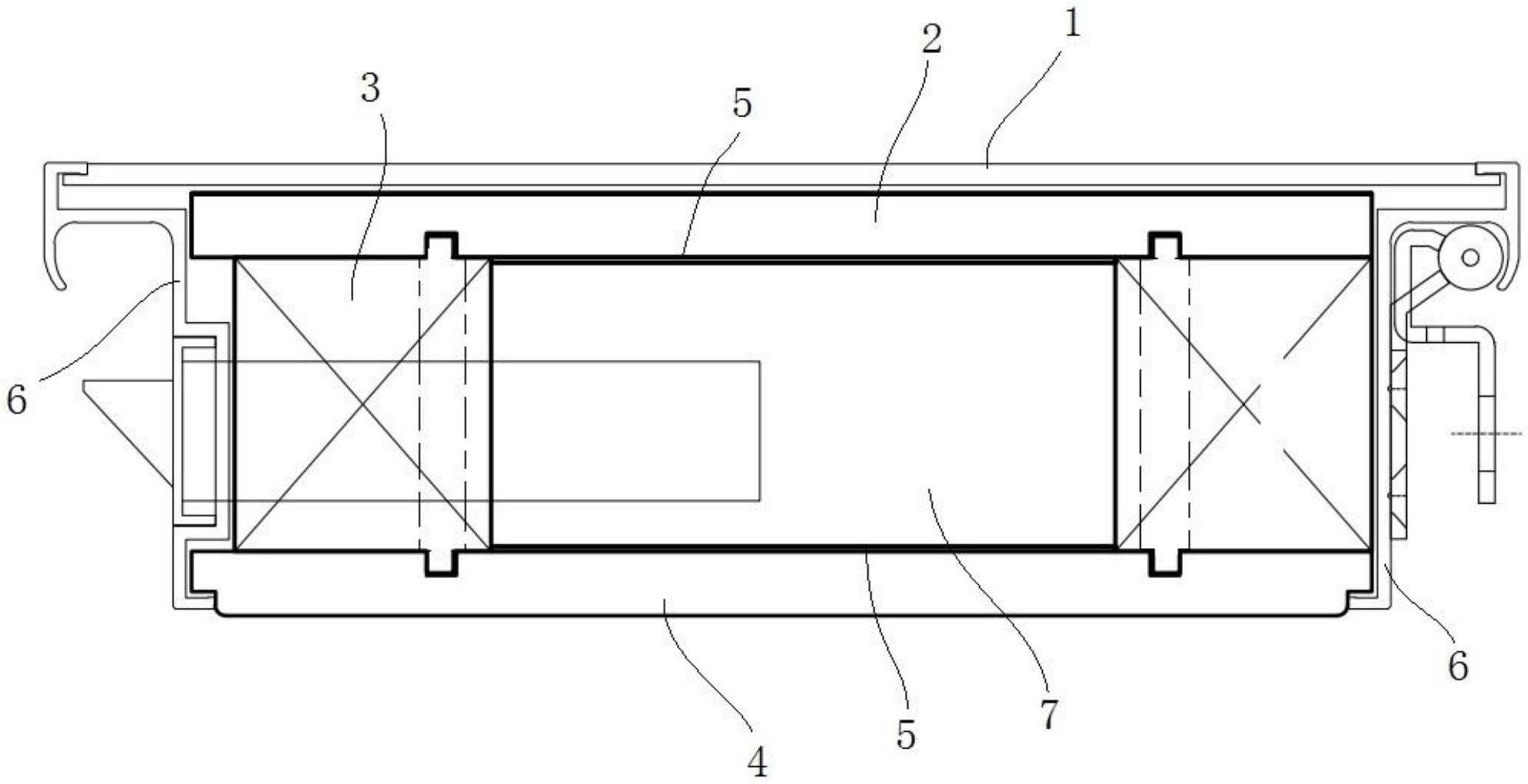
本实用新型公开了一种铸铝门扇,涉及防火门领域。目前在前铝后木材料的铸铝门中,大多采用前后两张钢板折弯然后焊接成铁盒子作为门芯,容易变形,精度低,成本高,且隔音不好。本实用新型的门扇从前往后依次为前铝板、前密度板、门芯和后密度板,前铝板、前密度板、门芯和后密度板通过外周的铝型材卡边封闭连接固定,门芯包括木骨架、冷轧钢板和填充物,木骨架设于门芯外周,冷轧钢板和填充物设于木骨架内侧,木骨架由4根木条通过榫卯结构连接成木框形状。通过采用木骨架做为门芯支撑结构代替传统的钢板,可有效提升装配精度,降低门扇成本,具有更好的密封和隔音性能。


