授权公布号:CN207245564U
一种防火门框密封条
失效
申请
2017-09-23
申请公布
1970-01-01
授权
2018-04-17
预估到期
2027-09-23
| 申请号 | CN201721228487.4 |
| 申请日 | 2017-09-23 |
| 授权公布号 | CN207245564U |
| 授权公告日 | 2018-04-17 |
| 分类号 | E06B5/16;E06B7/22 |
| 分类 | 一般门、窗、百叶窗或卷辊遮帘;梯子; |
| 申请人名称 | 北京曼特门业有限公司 |
| 申请人地址 | 北京市顺义区南彩镇彩园路6号 |
专利法律状态
2023-10-10
专利权的终止
状态信息
未缴年费专利权终止;IPC(主分类):E06B5/16;专利号:ZL2017212284874;申请日:20170923;授权公告日:20180417;终止日期:
2018-04-17
授权
状态信息
授权
摘要
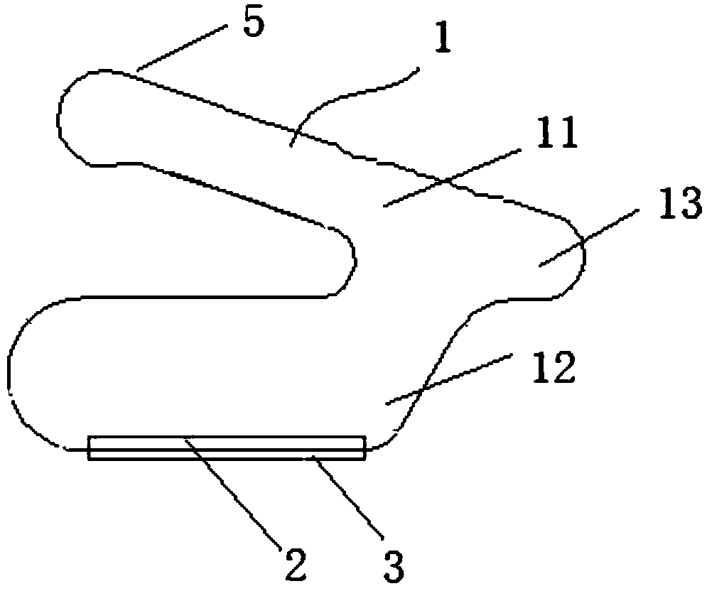
本实用新型公开了一种防火门框密封条,包括:弹性体,具有u型结构,至少包括弹性体固定部、缓冲部及卡扣部,弹性体为PU发泡材料;外壳膜,延弹性体的外缘包设。本实用新型的目的是拆装简易、耐磨耐压性良好,还具有防火作用的密封条。


