授权公布号:CN212253198U
一种单管进出水储热水箱
有效
申请
2020-04-30
申请公布
1970-01-01
授权
2020-12-29
预估到期
2030-04-30
| 申请号 | CN202020716913.4 |
| 申请日 | 2020-04-30 |
| 授权公布号 | CN212253198U |
| 授权公告日 | 2020-12-29 |
| 分类号 | F24S60/30 |
| 分类 | 供热;炉灶;通风; |
| 申请人名称 | 山东桑乐集团有限公司 |
| 申请人地址 | 山东省济南市高新区春暄路2639号 |
专利法律状态
2020-12-29
授权
状态信息
授权
摘要
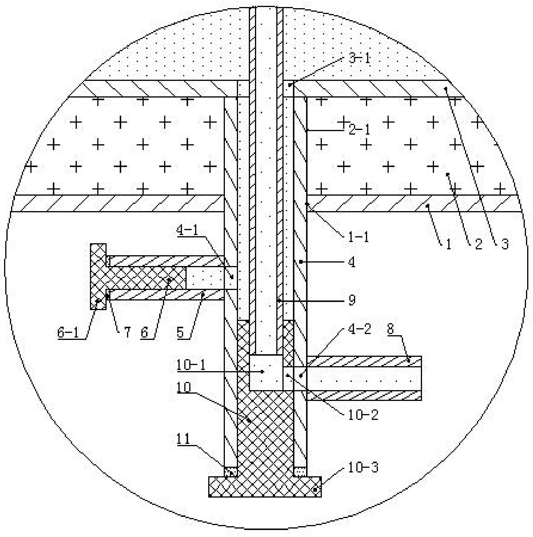
本实用新型公开了一种单管进出水储热水箱,涉及储热水箱技术领域。包括箱体、总管、冷水管、热水管、采水管、冷水调节塞、热水调节塞,总管的上端与箱体连接,总管通过设于箱体的连接孔与箱体连通,冷水管和热水管均本实用新型与总管的管壁连接,冷水管通过设于总管的管壁的冷水孔与总管连通,热水管通过设于总管的管壁的热水孔与总管连通,冷水孔设于热水孔上方,采水管设于箱体内,冷水调节塞与冷水管远离总管的一端配合,热水调节塞与总管的下端配合,热水调节塞的上端面设有与采水管的下端配合的出水槽,出水槽的槽壁设有与热水孔配合的出水孔。本实用新型能够降低箱体在焊接处发生腐蚀泄漏的几率。


