授权公布号:CN113445857B
一种能自动推拉关闭的防火窗
有效
申请
2021-07-17
申请公布
2021-09-28
授权
2022-07-29
预估到期
2041-07-17
| 申请号 | CN202110809360.6 |
| 申请日 | 2021-07-17 |
| 申请公布号 | CN113445857A |
| 申请公布日 | 2021-09-28 |
| 授权公布号 | CN113445857B |
| 授权公告日 | 2022-07-29 |
| 分类号 | E05F15/72;E05F15/71;E05F15/616;E06B5/16 |
| 分类 | 锁;钥匙;门窗零件;保险箱; |
| 申请人名称 | 江西伟隆科技有限公司 |
| 申请人地址 | 江西省抚州市南丰县工业园区 |
专利法律状态
2022-07-29
授权
状态信息
授权
2021-09-28
公布
状态信息
公布
摘要
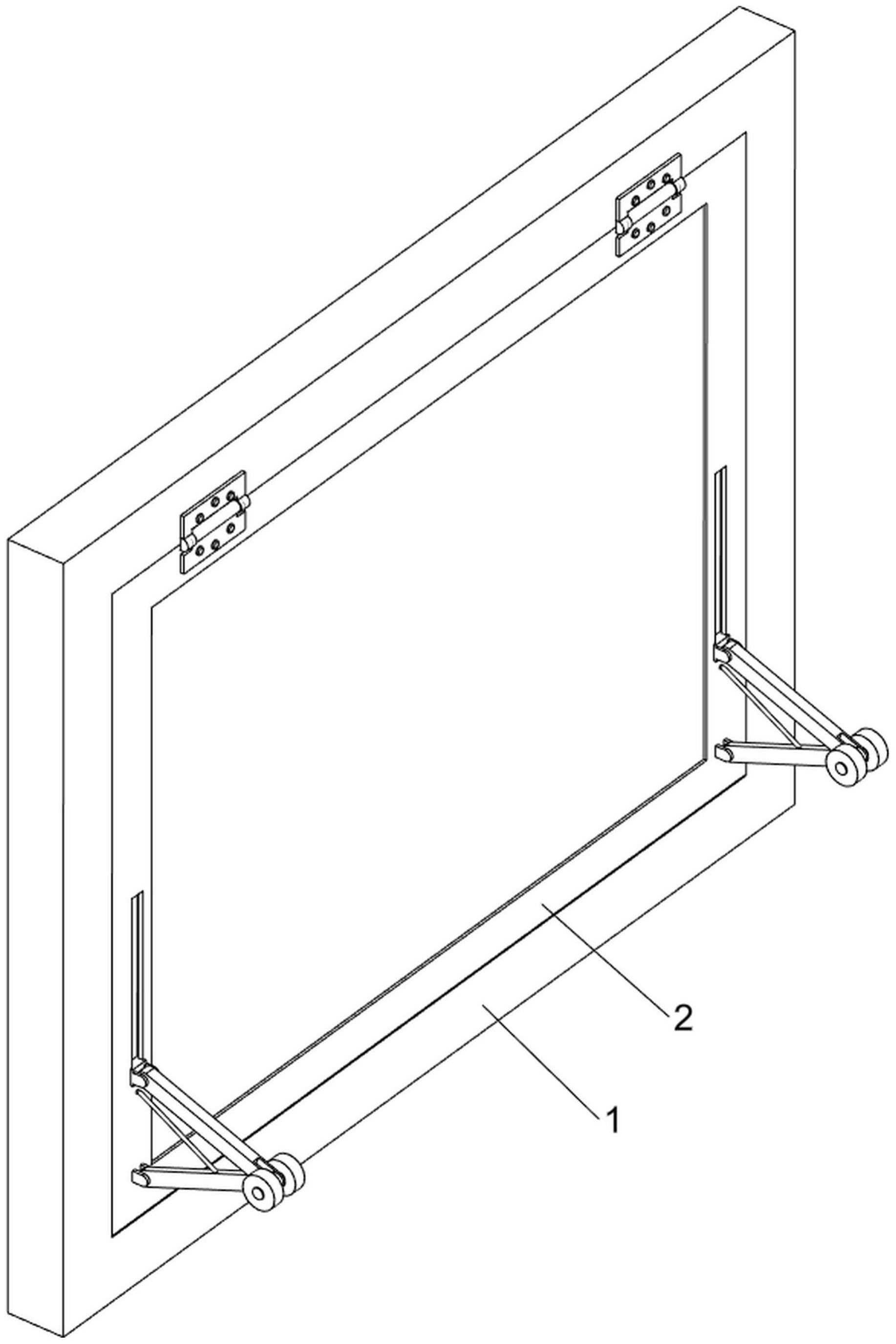
本发明涉及一种防火窗,尤其涉及一种能自动推拉关闭的防火窗。本发明的技术问题:提供一种安全性高,可以有效的阻止火势蔓延的能自动推拉关闭的防火窗。一种能自动推拉关闭的防火窗,包括有框体和防火窗本体,所述防火窗本体转动式安装于所述框体内;伺服电机,所述伺服电机安装于所述框体的上部。本发明通过第一按钮和第二按钮可以手动控制防火窗本体打开和关闭,不需要人们探出头关闭防火窗本体,通过温度传感器可以自动控制防火窗本体关闭,并且可以及时关闭防火窗本体,有效的阻止火势蔓延,通过活动组件和自动组件的配合,可以起到保险作用,在伺服电机故障的情况下,也可以将防火窗本体关闭。


