授权公布号:CN217681431U
一种家用防火钢木门
有效
申请
2022-05-19
申请公布
1970-01-01
授权
2022-10-28
预估到期
2032-05-19
| 申请号 | CN202221225133.5 |
| 申请日 | 2022-05-19 |
| 授权公布号 | CN217681431U |
| 授权公告日 | 2022-10-28 |
| 分类号 | E06B5/16;E05F7/06 |
| 分类 | 一般门、窗、百叶窗或卷辊遮帘;梯子; |
| 申请人名称 | 江西伟隆科技有限公司 |
| 申请人地址 | 江西省抚州市南丰县工业园区 |
专利法律状态
2022-10-28
授权
状态信息
授权
摘要
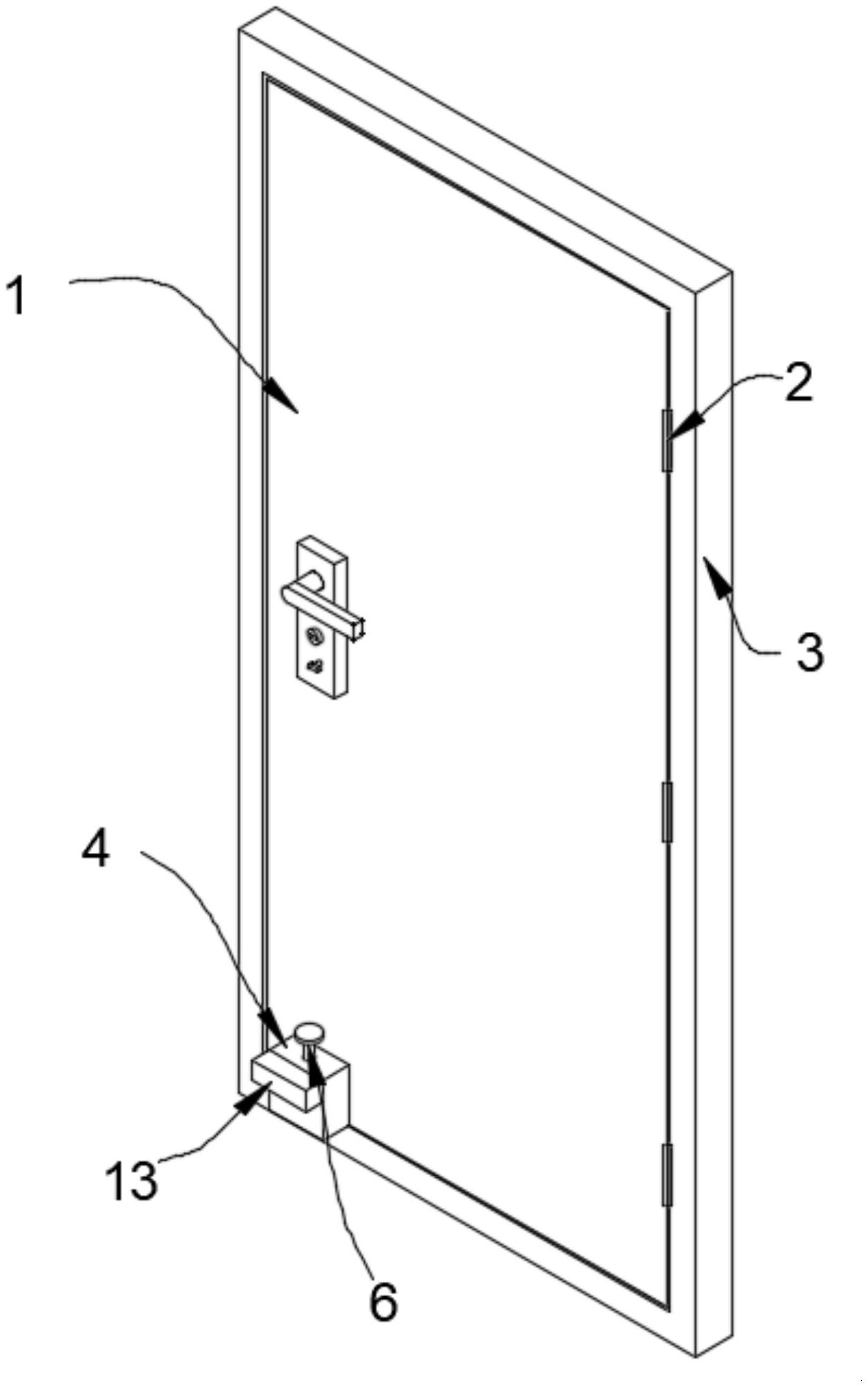
本实用新型公开了一种家用防火钢木门,涉及钢木门领域,包括门体、合页、门框和第三支撑块,所述门体底部外壁安装有安装块,且安装块底部设有第一支撑块,并且第一支撑块底部设有转动组件,而且转动组件与地面相接触。本实用新型通过设置有螺纹杆、第一支撑块和滚珠,在第一支撑块和滚珠的作用下,使得门体在打开关闭时,合页所承受的压力被大大减少,使得合页在使用时的损耗降低,从而增加了设备的使用寿命,在滚珠的作用下使得门体在打开关闭时更加省力,方便使用人员开关门体,并且在螺纹杆的作用下,使得第一支撑块和滚珠所在的高度可以根据门体底部与地面之间的实际间距去进行调整,使得设备更加的方便使用。


