授权公布号:CN112854982B
一种具有灭火功能的防火门
有效
申请
2021-01-12
申请公布
2021-05-28
授权
2022-07-08
预估到期
2041-01-12
| 申请号 | CN202110036112.2 |
| 申请日 | 2021-01-12 |
| 申请公布号 | CN112854982A |
| 申请公布日 | 2021-05-28 |
| 授权公布号 | CN112854982B |
| 授权公告日 | 2022-07-08 |
| 分类号 | E06B5/16;E06B7/28;A62C31/02;B01D47/02 |
| 分类 | 一般门、窗、百叶窗或卷辊遮帘;梯子; |
| 申请人名称 | 江西伟隆科技有限公司 |
| 申请人地址 | 江西省抚州市南丰县工业园区 |
专利法律状态
2022-07-08
授权
状态信息
授权
2021-05-28
公布
状态信息
公布
摘要
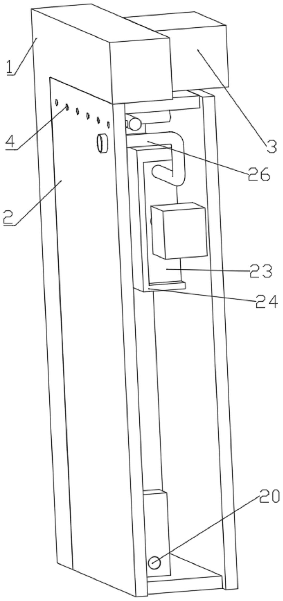
本发明公开了一种具有灭火功能的防火门,所述防火门包括有门框、铰接在门框内部并设置有空腔的门体、设置在门框上的储水箱、设置在门体空腔内的抽气组件、用于泄压加水的自动阀门单元;所述门体的空腔内填充物为水,所述门体空腔内的进气口通过抽气组件与门体外部空间连通,所述门体空腔内的出气口通过自动阀门单元与门体外部空间连通,所述门体空腔内的进水口通过自动阀门单元与储水箱的出水口连通,所述门体空腔内的出水口通过喷头与门体外部空间连通。


