授权公布号:CN213134683U
一种防盗门锁孔冲孔装置
有效
申请
2020-07-06
申请公布
1970-01-01
授权
2021-05-07
预估到期
2030-07-06
| 申请号 | CN202021301436.1 |
| 申请日 | 2020-07-06 |
| 授权公布号 | CN213134683U |
| 授权公告日 | 2021-05-07 |
| 分类号 | B21D28/26 |
| 分类 | 基本上无切削的金属机械加工;金属冲压; |
| 申请人名称 | 涛涛集团有限公司 |
| 申请人地址 | 浙江省丽水市缙云县五云镇新民路6号(浙江缙云工业园区) |
专利法律状态
2021-05-07
授权
状态信息
授权
摘要
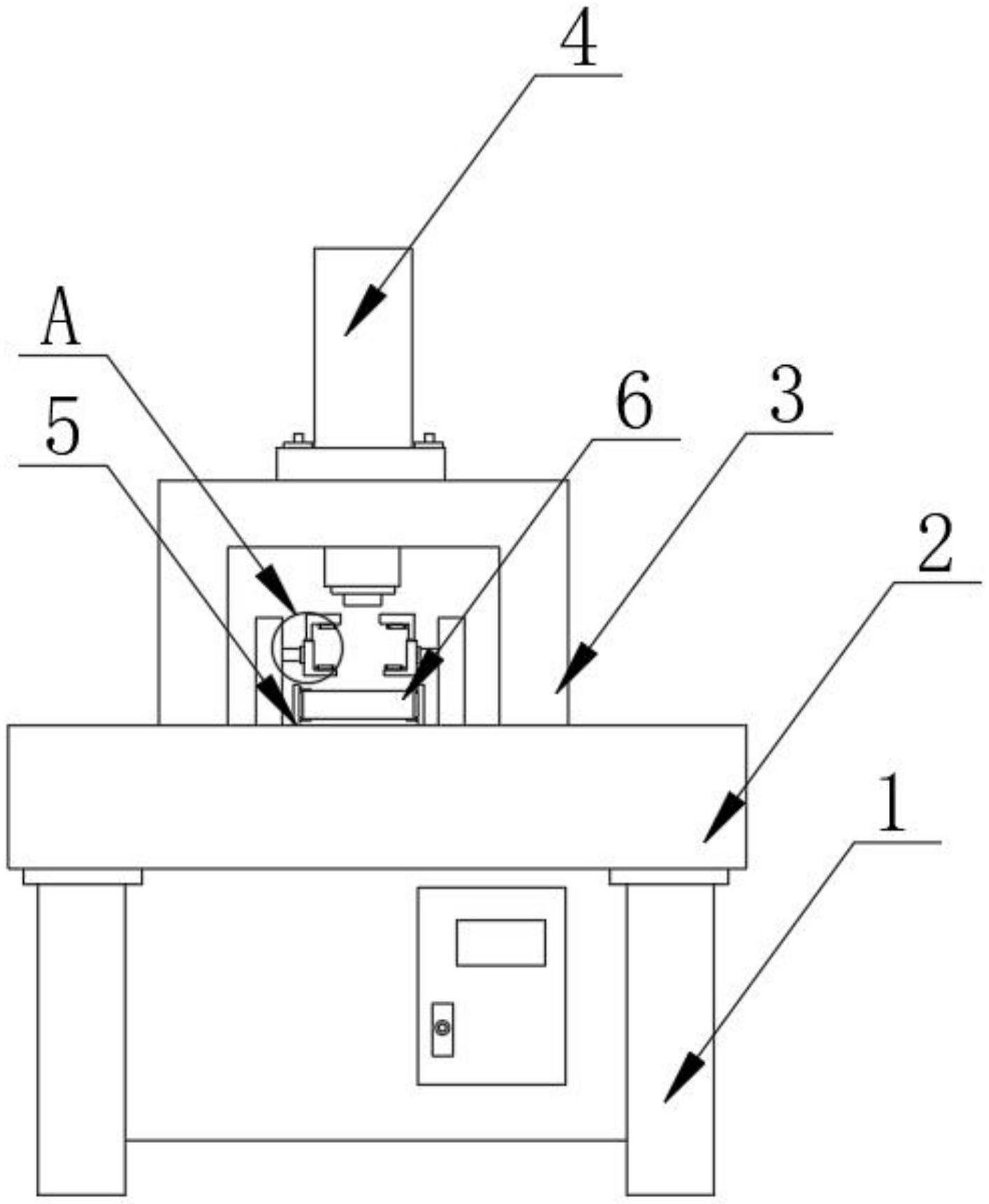
本实用新型公开了一种防盗门锁孔冲孔装置,包括固定连接杆,所述固定连接杆的顶部固定安装有工作台,所述工作台的顶部固定安装有固定连接架,所述固定连接架的顶部固定安装有工作头,所述工作台的顶部固定安装有固定连接板,所述固定连接板的一侧固定连接有连接支撑杆,所述连接支撑杆的一侧固定连接有收纳套筒,所述收纳套筒的内部活动安装有活动连接杆。通过设计的活动收纳盒,当工作头在工作的过程中,会将打孔的碎屑挤入活动收纳盒的内部,因为活动收纳盒是可以进行拆卸的,当工作完毕将活动收纳盒取下,从而能对其进行收纳,提高工作效率,解决了收纳的问题。


