授权公布号:CN210948236U
一种带有隐形焊点的门
有效
申请
2019-08-30
申请公布
1970-01-01
授权
2020-07-07
预估到期
2029-08-30
| 申请号 | CN201921433475.4 |
| 申请日 | 2019-08-30 |
| 授权公布号 | CN210948236U |
| 授权公告日 | 2020-07-07 |
| 分类号 | E06B3/36 |
| 分类 | 一般门、窗、百叶窗或卷辊遮帘;梯子; |
| 申请人名称 | 涛涛集团有限公司 |
| 申请人地址 | 浙江省丽水市缙云县五云镇新民路6号(浙江缙云工业园区) |
专利法律状态
2020-07-07
授权
状态信息
授权
摘要
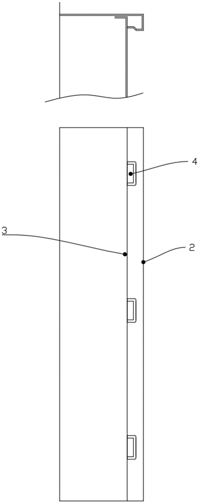
本实用新型属于门设备领域,特指一种带有隐形焊点的门,包括外门板、以及内门板,所述外门板和内门板配合形成门本体,所述外门板的边侧设置有若干焊点凹槽,所述焊点凹槽内的焊接液连接外门板和内门板;在外门板的边侧设置焊点凹槽,将内门板插设在外门板后,在焊点凹槽内填充焊接液,将外门板和内门板固定,并且焊接液凝固后会置于焊点凹槽内,不会露出焊点液的凝固块,提高门扇的美观。


