授权公布号:CN210948345U
一种防撬门
有效
申请
2019-08-30
申请公布
1970-01-01
授权
2020-07-07
预估到期
2029-08-30
| 申请号 | CN201921434147.6 |
| 申请日 | 2019-08-30 |
| 授权公布号 | CN210948345U |
| 授权公告日 | 2020-07-07 |
| 分类号 | E06B5/11;E06B3/70 |
| 分类 | 一般门、窗、百叶窗或卷辊遮帘;梯子; |
| 申请人名称 | 涛涛集团有限公司 |
| 申请人地址 | 浙江省丽水市缙云县五云镇新民路6号(浙江缙云工业园区) |
专利法律状态
2020-07-07
授权
状态信息
授权
摘要
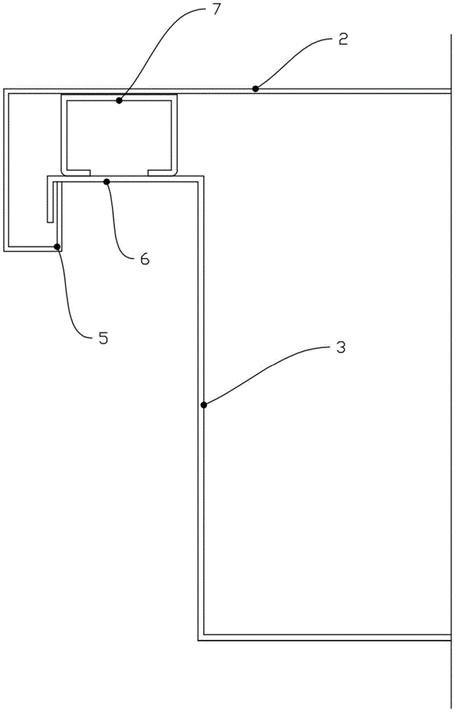
本实用新型属于门设备领域,特指一种防撬门,包括外门板、以及内门板,所述外门板和内门板配合形成门本体,外门板与内门板的一侧咬合,外门板与内门板的另一侧焊接,所述外门板与内门板之间设置有防撬条,防撬条设置在外门板与内门板咬合的一侧;外门板与内门板之间设置有防撬条,防撬条设置在第一咬合件和第二咬合件之间,通过防撬条对外门扇提供支撑力,如果有外人在强行撬门时,通过防撬条提供的支撑力,防止门扇被撬开。


