授权公布号:CN217098582U
一种太阳能水箱发泡用人工辅助注料装置
有效
申请
2022-03-24
申请公布
1970-01-01
授权
2022-08-02
预估到期
2032-03-24
| 申请号 | CN202220658508.0 |
| 申请日 | 2022-03-24 |
| 授权公布号 | CN217098582U |
| 授权公告日 | 2022-08-02 |
| 分类号 | B29C44/38 |
| 分类 | 塑料的加工;一般处于塑性状态物质的加工; |
| 申请人名称 | 山东桑乐集团有限公司 |
| 申请人地址 | 山东省济南市高新区春暄路2639号 |
专利法律状态
2022-08-02
授权
状态信息
授权
摘要
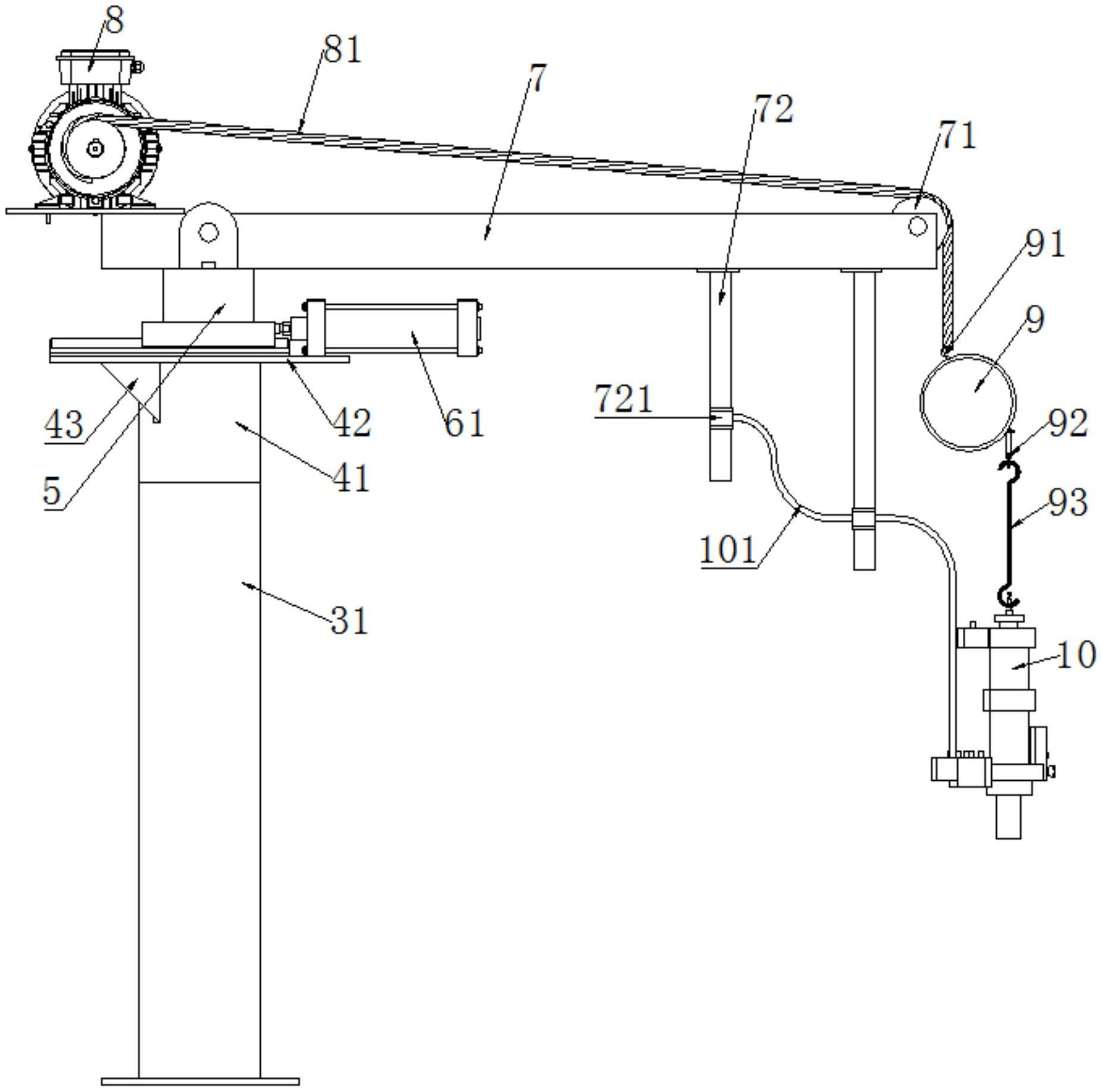
本实用新型公开了一种太阳能水箱发泡用人工辅助注料装置,包括发泡枪头、立架、转动架、滑台、复位机构、桁架、卷扬机、平衡器,立架的上端转动连接有转动架,转动架的上端设有滑台,滑台沿着以转动架为圆心的径向滑动,转动架上设有用于驱动滑台径向复位的复位机构,滑台的上端设有桁架,桁架在靠近滑台的一端设有卷扬机,桁架在远离滑台的一端设有平衡器,卷扬机通过吊绳与平衡器连接,平衡器与发泡枪头连接。本实用新型不仅使注料操作方便灵活,还方便更换不同产品型号的水箱,有利于提高注料效率和水箱的生产效率。


