授权公布号:CN218360923U
一种高压冲洗设备
有效
申请
2022-08-22
申请公布
1970-01-01
授权
2023-01-24
预估到期
2032-08-22
| 申请号 | CN202222208138.3 |
| 申请日 | 2022-08-22 |
| 授权公布号 | CN218360923U |
| 授权公告日 | 2023-01-24 |
| 分类号 | B08B3/02;B08B3/08 |
| 分类 | 清洁; |
| 申请人名称 | 浙江百家万安门业有限公司 |
| 申请人地址 | 浙江省衢州市江山市江山经济开发区江东区兴工北路2号 |
专利法律状态
2023-01-24
授权
状态信息
授权
摘要
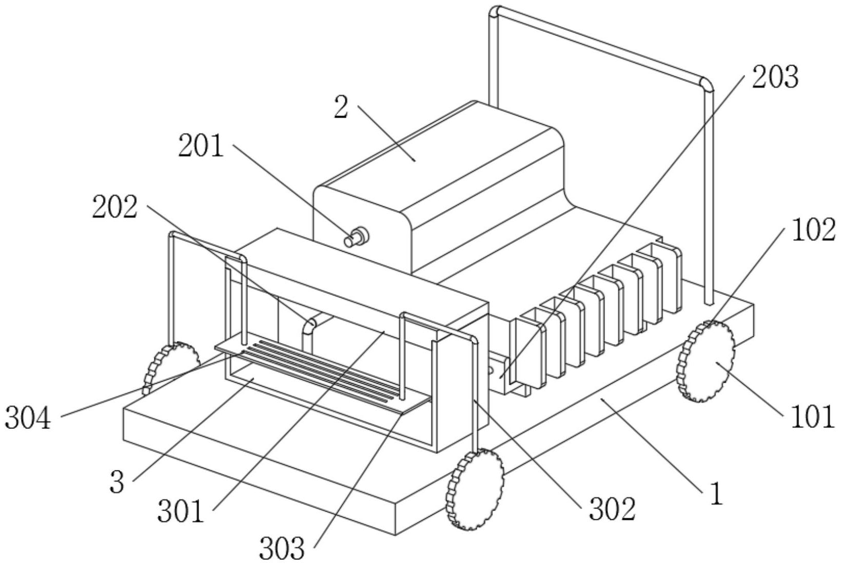
本实用新型提供了一种高压冲洗设备,涉及冲洗设备技术领域,包括:车体;所述车体上转动连接有四个滚轮,四个滚轮均与地面接触;所述滚轮为铁质材质,滚轮外壁上呈环阵列状开设有凹槽,环形阵列状开设的凹槽组成了车体的防溜车结构。通过辅助板的上下往复运动可实现蓄水桶内液体与消毒药剂的混合,且此时因辅助板上呈线性阵列状开设有四个通孔,线性阵列状开设的通孔共同组成了蓄水桶内液体的辅助混合结构,当辅助板上下往复运动时通孔呈射流状,通过该射流可实现蓄水桶捏液体和药剂的辅助混合,解决了使用时需要对多个金属门进行冲洗,那么也就需要进行多次位置转移,不能够在位置转移的过程中自动实现冲洗液体和药剂的混合,结构单一的问题。


