授权公布号:CN218370274U
一种液压翻转机构
有效
申请
2022-10-17
申请公布
1970-01-01
授权
2023-01-24
预估到期
2032-10-17
| 申请号 | CN202222725701.4 |
| 申请日 | 2022-10-17 |
| 授权公布号 | CN218370274U |
| 授权公告日 | 2023-01-24 |
| 分类号 | B65G47/248 |
| 分类 | 输送;包装;贮存;搬运薄的或细丝状材料; |
| 申请人名称 | 昆山新恒邦门业有限公司 |
| 申请人地址 | 江苏省苏州市昆山市蓬朗镇徐家村东路9号 |
专利法律状态
2023-01-24
授权
状态信息
授权
摘要
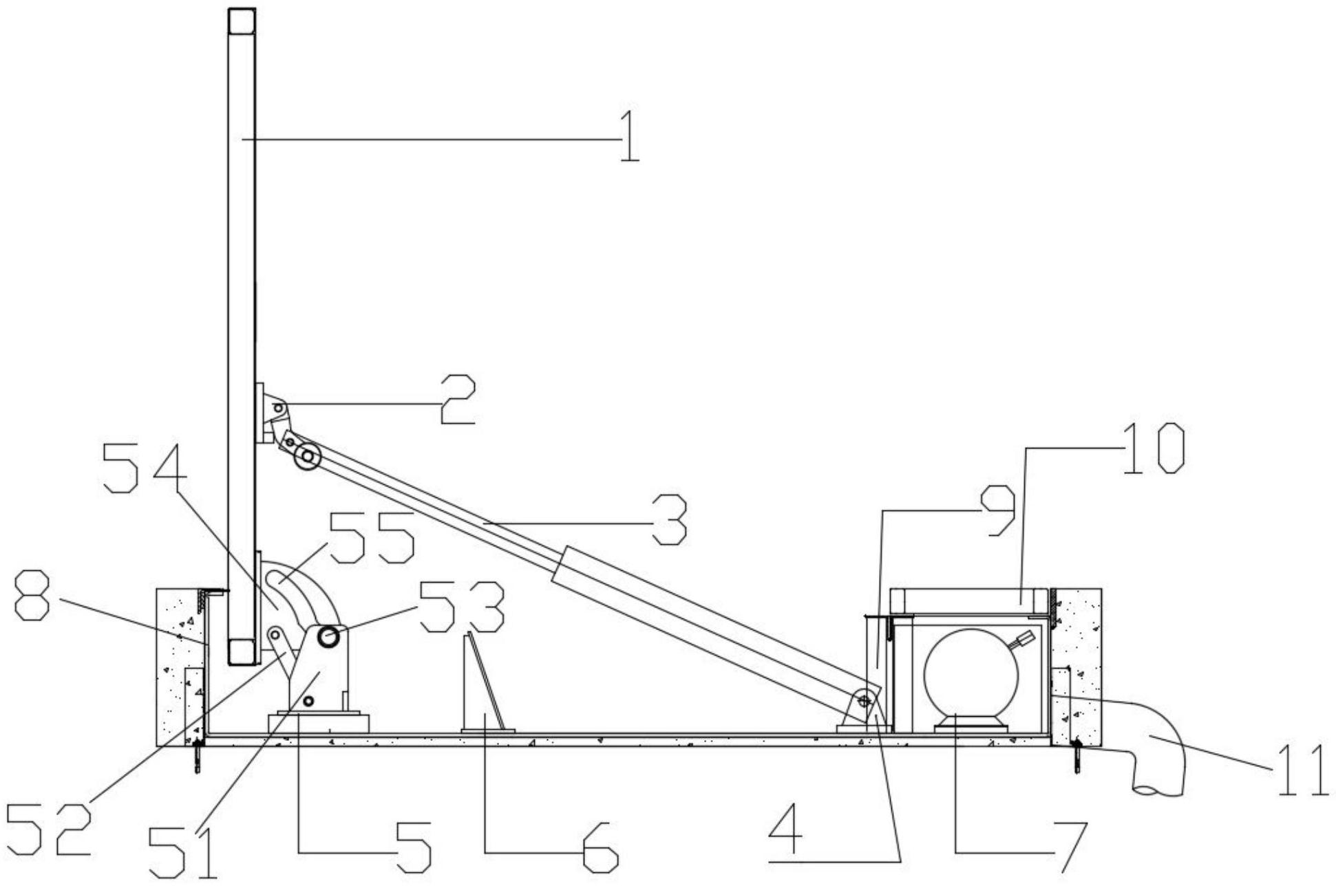
本实用新型公开了一种液压翻转机构,包括翻转面板(1)、液压前轮座(2)、液压推杆(3)、液压底座(4)、旋转机构(5)、上升轮座(6)、液压动力单元(7)和容纳框架(8),所述容纳框架固定在地下,所述旋转机构、上升轮座和液压底座间隔固定在所述容纳框架中,所述液压动力单元封装在所述容纳框架中,所述液压推杆的固定端转动安装在所述液压底座上,所述液压推杆的伸缩端安装在所述液压前轮座上,所述翻转面板固定在所述液压前轮座和旋转机构上,所述液压推杆与液压动力单元连通。该液压翻转机构结构简单、强度高,方便安装,容易收纳,实施效率高。


