授权公布号:CN218644107U
一种液压翻板式挡水门
有效
申请
2022-10-17
申请公布
1970-01-01
授权
2023-03-17
预估到期
2032-10-17
| 申请号 | CN202222725704.8 |
| 申请日 | 2022-10-17 |
| 授权公布号 | CN218644107U |
| 授权公告日 | 2023-03-17 |
| 分类号 | E05F15/53;E06B5/00;E06B7/28 |
| 分类 | 锁;钥匙;门窗零件;保险箱; |
| 申请人名称 | 昆山新恒邦门业有限公司 |
| 申请人地址 | 江苏省苏州市昆山市蓬朗镇徐家村东路9号 |
专利法律状态
2023-03-17
授权
状态信息
授权
摘要
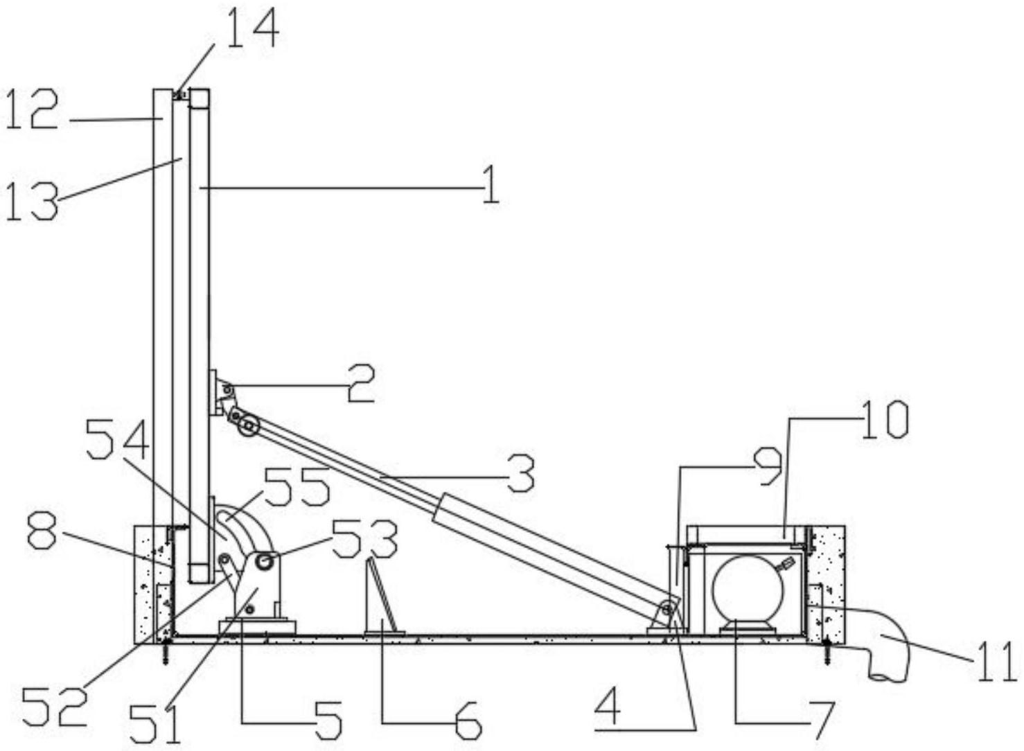
本实用新型公开了一种液压翻板式挡水门,包括挡水门板、门框、密封条、限位块、液压前轮座、液压推杆、液压底座、旋转机构、上升轮座、液压动力单元和容纳框架,容纳框架固定在地下,门框竖直固定在容纳框架上,密封条固定在门框的两侧,限位块固定在门框的顶端两侧,旋转机构、上升轮座和液压底座间隔固定在容纳框架中,液压动力单元封装在容纳框架中,液压推杆的固定端转动安装在液压底座上,液压推杆的伸缩端安装在液压前轮座上,挡水门板固定在液压前轮座和旋转机构上,液压推杆与液压动力单元连通。该液压翻板式挡水门能够快速响应,及时挡水,方便安装,容易收纳,实施效率高。


