授权公布号:CN217712378U
一种适用于6米到15米宽度的柔性门轨道
有效
申请
2022-04-02
申请公布
1970-01-01
授权
2022-11-01
预估到期
2032-04-02
| 申请号 | CN202220762672.6 |
| 申请日 | 2022-04-02 |
| 授权公布号 | CN217712378U |
| 授权公告日 | 2022-11-01 |
| 分类号 | E06B9/58 |
| 分类 | 一般门、窗、百叶窗或卷辊遮帘;梯子; |
| 申请人名称 | 昆山新恒邦门业有限公司 |
| 申请人地址 | 江苏省苏州市昆山开发区蓬朗徐家村路南侧2号房 |
专利法律状态
2022-11-01
授权
状态信息
授权
摘要
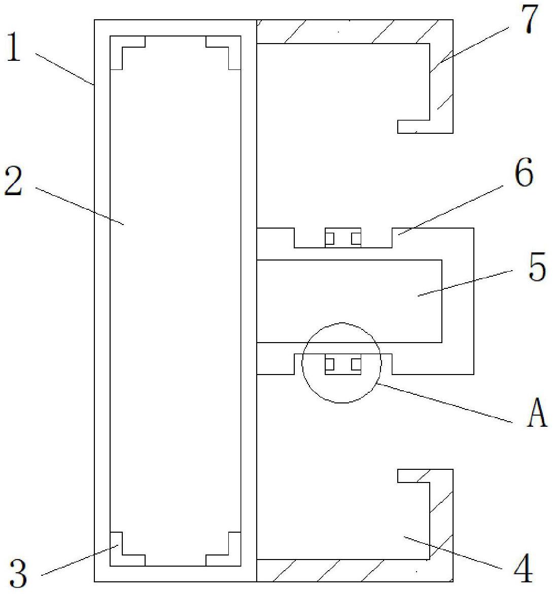
本实用新型公开了一种适用于6米到15米宽度的柔性门轨道,包括支撑钢板,所述支撑钢板一侧的中间位置处固定焊接有导向钢板,所述支撑钢板一侧的顶端和底端固定焊接有两组防护钢板,所述防护钢板的内部设置有防护腔室,所述支撑钢板的内部设置有支撑腔室,所述支撑腔室内部固定焊接有加固直角钢条。该适用于6米到15米宽度的柔性门轨道通过中间采用折边导向钢板,从而实现了轨道一体化的设计,能够在工厂内实现标准化,连续作业,内部嵌装导向钢板,从而避免了需要根据每樘门然后重新构造立柱的结构,为公司能够大批量标准化生产提供了设计基础,轨能够极大的降低成本,解决了构造复杂成本高的问题。


