授权公布号:CN218293419U
一种新型无机防火卷帘门底座结构
有效
申请
2022-08-31
申请公布
1970-01-01
授权
2023-01-13
预估到期
2032-08-31
| 申请号 | CN202222304222.5 |
| 申请日 | 2022-08-31 |
| 授权公布号 | CN218293419U |
| 授权公告日 | 2023-01-13 |
| 分类号 | E06B9/08;E06B5/16 |
| 分类 | 一般门、窗、百叶窗或卷辊遮帘;梯子; |
| 申请人名称 | 昆山新恒邦门业有限公司 |
| 申请人地址 | 江苏省苏州市昆山市蓬朗镇徐家村东路9号 |
专利法律状态
2023-01-13
授权
状态信息
授权
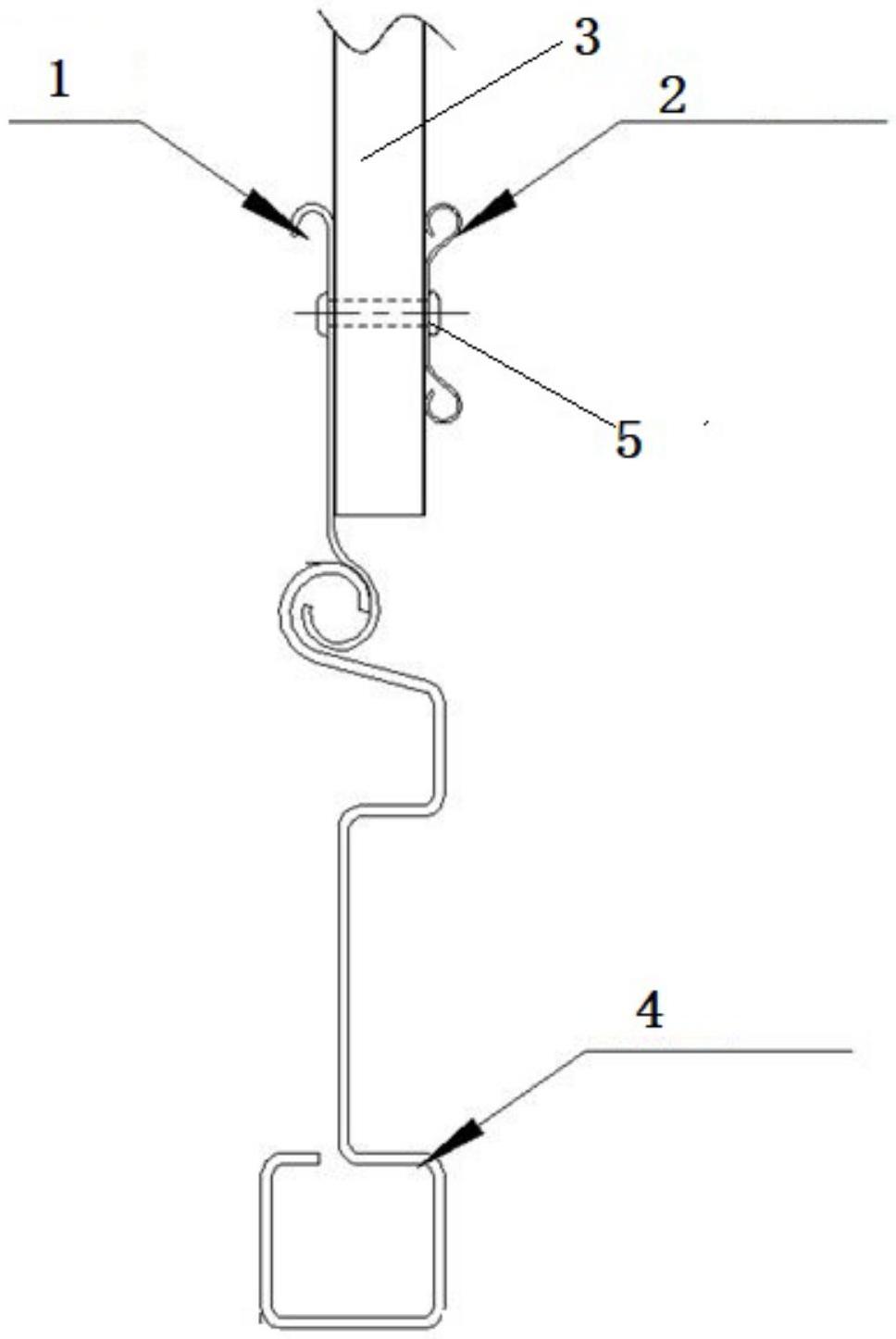
摘要
本实用新型公开了一种新型无机防火卷帘门底座结构,包括上挂片、中间夹板、无机防火帘布和底座,所述上挂片和中间夹板通过铆钉安装在所述无机防火帘布的两侧,所述底座单侧挂装在所述上挂片的下端并位于所述无机防火帘的下方,所述底座的宽度尺寸小于防火卷帘门导轨的宽度尺寸。该新型无机防火卷帘门底座结构的上挂片通过铆钉与中间夹板铆合,从而使上挂片与无机帘布和组合到一起,底座直接单侧挂装在上挂片,单侧安装操作空间大,减少了安装难度,安装更加分别,降低了安装工时。底座尺寸小,能够直接将底座进入到防火卷帘门导轨内部,避免底座端部锐口碰刮导轨上贴的防磨防烟条,提高了防火卷帘门的防烟密封性。


