授权公布号:CN217327106U
一种钢质抗爆卷帘门
有效
申请
2022-01-14
申请公布
1970-01-01
授权
2022-08-30
预估到期
2032-01-14
| 申请号 | CN202220087662.7 |
| 申请日 | 2022-01-14 |
| 授权公布号 | CN217327106U |
| 授权公告日 | 2022-08-30 |
| 分类号 | E06B9/15;E06B9/70;E06B9/17 |
| 分类 | 一般门、窗、百叶窗或卷辊遮帘;梯子; |
| 申请人名称 | 昆山新恒邦门业有限公司 |
| 申请人地址 | 江苏省苏州市昆山开发区蓬朗徐家村路南侧2号房 |
专利法律状态
2022-08-30
授权
状态信息
授权
摘要
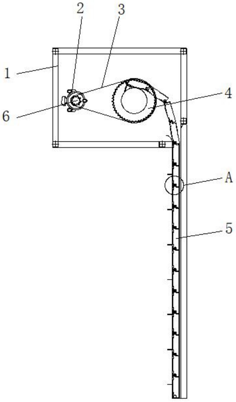
本实用新型公开了一种钢质抗爆卷帘门,包括门框架,所述门框架的内部横向设置有主轴,所述主轴的外部缠绕有多组门帘,所述主轴的一侧安装有从动齿轮,所述从动齿轮的后端设置有主动齿轮,所述主动齿轮和从动齿轮之间设置有连接带。该钢质抗爆卷帘门通过设置有门框架和门帘,使用时,门帘采用镀锌钢板材质,冷弯设备成型工艺,尺寸更加标准,结构合理坚固,经过特殊设计,可以抵挡53式步枪弹的近距离射击,避免弹头停滞在门板内避免跳弹产生二次伤害,尺寸精准、4小时隔热防火防盗、单轨设计占地空间小,结构牢固,外观整体美观,提高了使用的功能性,解决的是不具备抗爆能力、不能用于有抗爆要求的场合的问题。


