授权公布号:CN217001548U
一种钢质隔热防火卷帘门
有效
申请
2021-06-29
申请公布
1970-01-01
授权
2022-07-19
预估到期
2031-06-29
| 申请号 | CN202121457847.4 |
| 申请日 | 2021-06-29 |
| 授权公布号 | CN217001548U |
| 授权公告日 | 2022-07-19 |
| 分类号 | E06B5/16;E06B9/15;E06B9/68;E06B9/70;E06B9/56;E06B7/28;E05B51/02;G08B17/10;A62C2/06 |
| 分类 | 一般门、窗、百叶窗或卷辊遮帘;梯子; |
| 申请人名称 | 昆山新恒邦门业有限公司 |
| 申请人地址 | 江苏省苏州市昆山开发区蓬朗徐家村路南侧2号房 |
专利法律状态
2022-07-19
授权
状态信息
授权
摘要
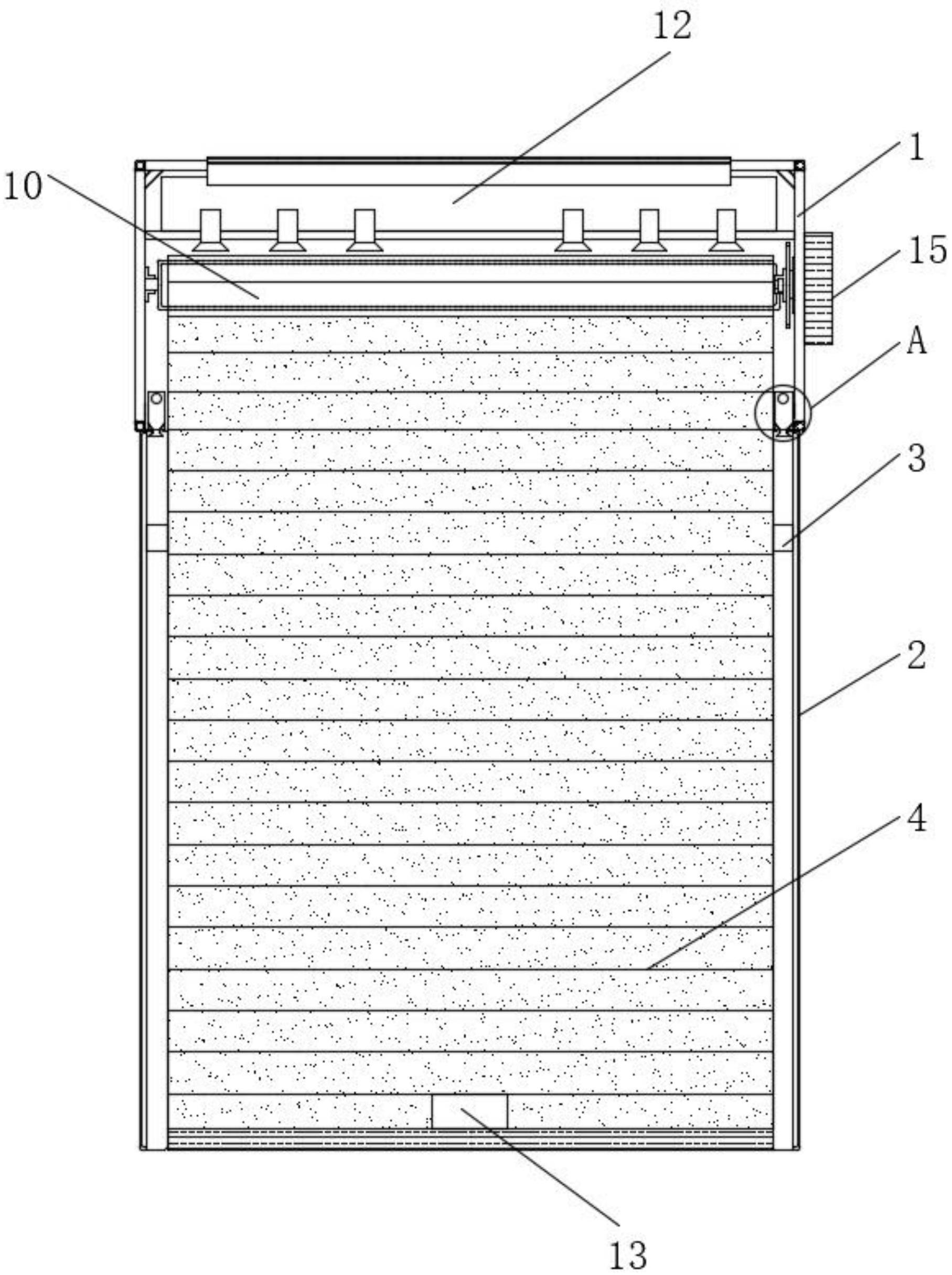
本实用新型公开了一种钢质隔热防火卷帘门,包括门框架和轨道静音机构,所述门框架的末端两侧均设置有轨道,所述轨道的内部安装有滑块,所述滑块的外侧壁连接有卷帘门,所述驱动电机的输出端连接有转轴,所述转轴的外圈连接有小转轮,所述门框架的内部上方设置有蓄水机构,所述卷帘门的末端表面安装有防盗机构,所述卷帘门的后方设置有基座,所述门框架的另一侧壁设置有线路控制盒。本实用新型中卷帘门主体采用镀锌钢板,冷弯设备成型,尺寸更标准,结构合理坚固实用性强兼具防盗功能,并且钢质材质更环保,并且达到小时隔热防火,人物转移时间更充足,不仅可以解决耐用性差、占地空间大,而且更加环保,具有显著的社会效益。


