授权公布号:CN217277347U
一种密封胶条定伸保持装置
有效
申请
2022-04-02
申请公布
1970-01-01
授权
2022-08-23
预估到期
2032-04-02
| 申请号 | CN202220777699.2 |
| 申请日 | 2022-04-02 |
| 授权公布号 | CN217277347U |
| 授权公告日 | 2022-08-23 |
| 分类号 | G01N3/02;G01N3/04;G01N3/08 |
| 分类 | 测量;测试; |
| 申请人名称 | 中亿丰罗普斯金材料科技股份有限公司 |
| 申请人地址 | 江苏省苏州市相城区黄埭镇潘阳工业园太东路2777号 |
专利法律状态
2022-08-23
授权
状态信息
授权
摘要
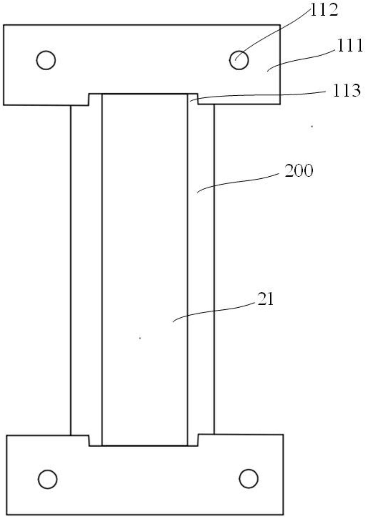
本实用新型公开了一种密封胶条定伸保持装置,包括:锁紧组件,具有两组,两组锁紧组件分别锁紧密封胶条的两端,任一组锁紧组件包括夹持密封胶条的夹持件、以及与夹持件可拆卸连接的锁紧件;定伸组件,定伸组件两端分别抵持两组锁紧组件,以使拉伸过后的密封胶条保持当前状态;当拉伸试验开始时,夹持件与锁紧件配合以锁紧密封胶条的两端,定伸组件用于使拉伸过后的密封胶条保持当前状态,结构简单,成本低,操作方便,可以解决传统的密封胶条拉伸恢复试验中占用试验机的时间长,浪费试验时间的问题,提高了试验效率。


