授权公布号:CN218844144U
一种门窗拼接结构及门窗
有效
申请
2022-11-17
申请公布
1970-01-01
授权
2023-04-11
预估到期
2032-11-17
| 申请号 | CN202223055237.9 |
| 申请日 | 2022-11-17 |
| 授权公布号 | CN218844144U |
| 授权公告日 | 2023-04-11 |
| 分类号 | E06B3/964;E06B3/968;E06B7/22 |
| 分类 | 一般门、窗、百叶窗或卷辊遮帘;梯子; |
| 申请人名称 | 中亿丰罗普斯金材料科技股份有限公司 |
| 申请人地址 | 江苏省苏州市相城区黄埭镇潘阳工业园太东路2777号 |
专利法律状态
2023-04-11
授权
状态信息
授权
摘要
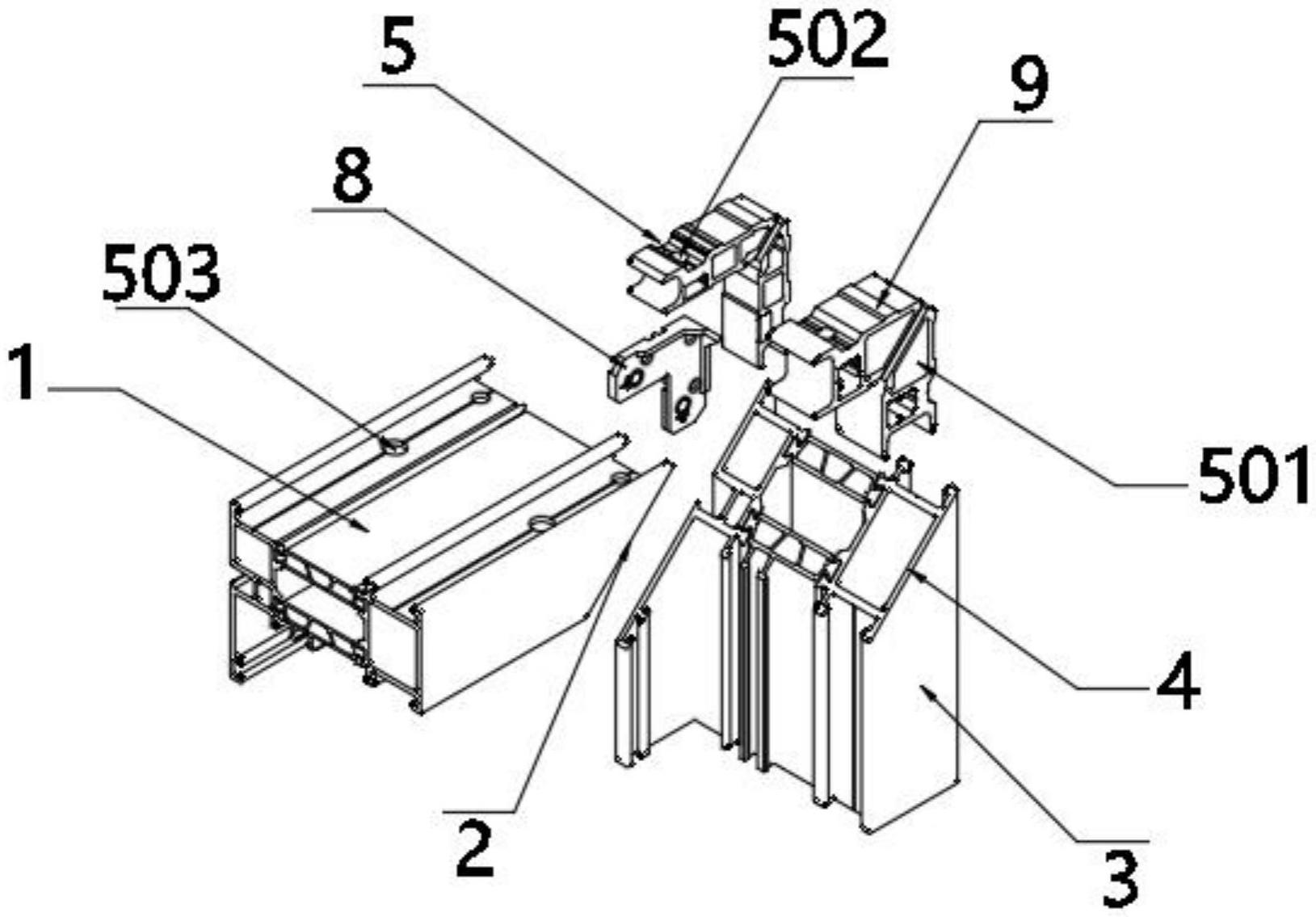
本实用新型公开了一种门窗拼接结构及门窗,属于门窗领域,包括第一边框,包括第一面;第二边框,包括第二面,位置与第一面对应;可调连接组件,设置在所述第一边框和第二边框之间,并设置为使所述第一面和所述第二面连接,可以实现利用可调连接组件方便将第一边框和第二边框的角度进行调整,使其符合阶差的调整范围,提高门窗的质量,而且操作方便,无需进行整形,省时省力。


