授权公布号:CN217581949U
一种新型窗用排水防水结构
有效
申请
2022-05-12
申请公布
1970-01-01
授权
2022-10-14
预估到期
2032-05-12
| 申请号 | CN202221137963.2 |
| 申请日 | 2022-05-12 |
| 授权公布号 | CN217581949U |
| 授权公告日 | 2022-10-14 |
| 分类号 | E06B7/14;E06B3/62 |
| 分类 | 一般门、窗、百叶窗或卷辊遮帘;梯子; |
| 申请人名称 | 中亿丰罗普斯金材料科技股份有限公司 |
| 申请人地址 | 江苏省苏州市相城区黄埭镇潘阳工业园太东路2777号 |
专利法律状态
2022-10-14
授权
状态信息
授权
摘要
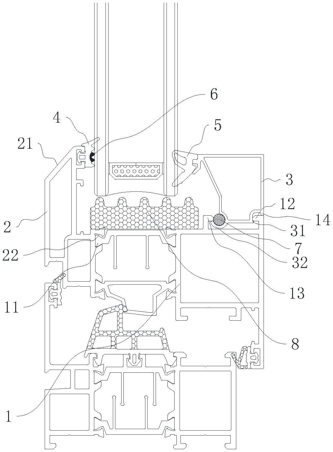
本实用新型公开了一种新型窗用排水防水结构,涉及建筑门窗配件排水防水技术领域,旨在解决门窗胶条、玻外压条漏水和铝合金排水效果差等问题,其技术方案要点是:包括型材框、分别设置在型材框上的窗扇条和压线条,窗扇条和压线条的相对位置上分别设置有玻外压条和玻内压条,玻外压条和玻内压条之间形成有玻璃安装槽,窗扇条远离玻外压条的一侧设置有导流部,导流部由上而下倾斜设置,玻外压条上朝向玻内压条的一侧设置有遇水膨胀点。本实用新型中,通过倾斜设置的导流部,加速了雨水的窗外侧流动,且结合遇水膨胀点,不仅降低了雨水渗漏到房屋内侧的几率,还减少了雨水的渗入量并增强了门窗的水密性能。


