授权公布号:CN215485758U
一种被动窗型材及被动窗
有效
申请
2021-05-31
申请公布
1970-01-01
授权
2022-01-11
预估到期
2031-05-31
| 申请号 | CN202121197028.0 |
| 申请日 | 2021-05-31 |
| 授权公布号 | CN215485758U |
| 授权公告日 | 2022-01-11 |
| 分类号 | E06B7/23;E06B3/66;E06B3/08;E06B1/36;E06B1/32 |
| 分类 | 一般门、窗、百叶窗或卷辊遮帘;梯子; |
| 申请人名称 | 西安高科建材科技有限公司 |
| 申请人地址 | 陕西省西安市高新区锦业路59号高科智慧园A幢11001室 |
专利法律状态
2022-01-11
授权
状态信息
授权
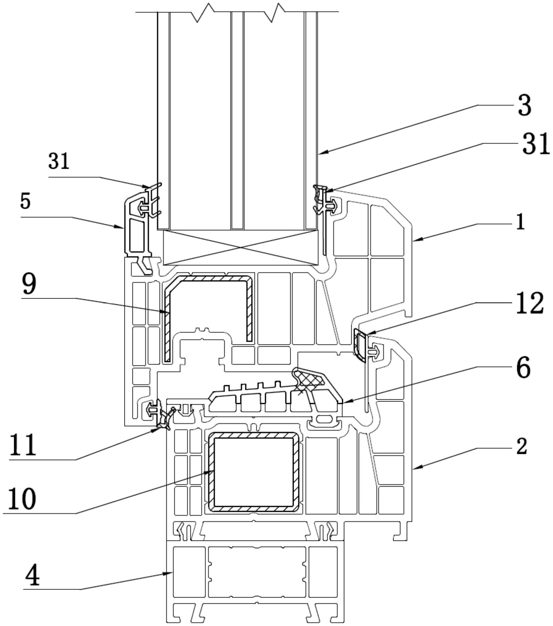
摘要
本实用公开了一种被动窗型材及被动窗,所述被动窗型材包括平开扇、平开框,所述平开框和平开扇的左右两侧分别通过第一O型胶条、第二O型胶条配合搭接,所述平开框和平开扇的端面之间设置第一胶条,所述第一胶条的一端卡接在平开框的凹槽内;所述平开扇的一侧与玻璃压条连接,所述玻璃压条和平开扇的另一侧之间设置镀膜三玻中空玻璃,所述玻璃压条、平开扇的另一侧与镀膜三玻中空玻璃之间均设置有玻璃密封胶条。本实用新型能够实现软硬胶条密封,密封效果更好,保温节能性能达国标10级以上,配置使用镀膜三层中空玻璃可使传热系数达到0.7‑0.8W/㎡k。


