授权公布号:CN214035385U
一种可记录暴力破坏的防盗门
有效
申请
2020-11-09
申请公布
1970-01-01
授权
2021-08-24
预估到期
2030-11-09
| 申请号 | CN202022558681.7 |
| 申请日 | 2020-11-09 |
| 授权公布号 | CN214035385U |
| 授权公告日 | 2021-08-24 |
| 分类号 | E06B5/11;E06B3/36;E06B7/28 |
| 分类 | 一般门、窗、百叶窗或卷辊遮帘;梯子; |
| 申请人名称 | 惠州市华日门业有限公司 |
| 申请人地址 | 广东省惠州市三栋镇田心福长岭 |
专利法律状态
2021-08-24
授权
状态信息
授权
摘要
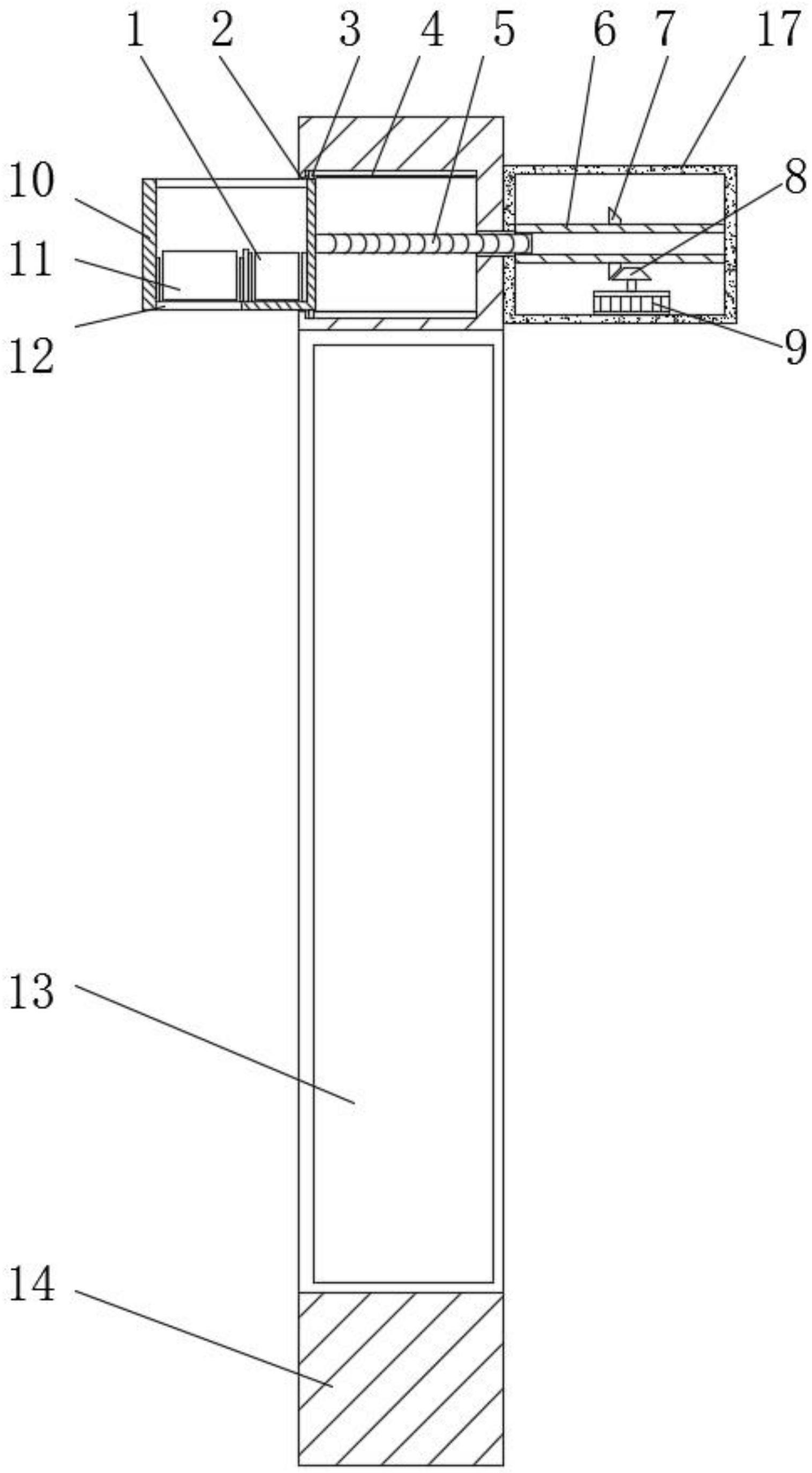
本实用新型公开了一种可记录暴力破坏的防盗门,包括门框,所述门框内侧壁铰链连接有门板,所述门框内侧壁远离铰链位置一侧顶部靠近中心处开有沉槽且沉槽内安装有接收器。本实用新型中,通过设置电机、内螺纹套筒、螺纹杆、壳体和摄像头,正常情况下时,壳体位于收纳腔内,当红外线感应器检测到门板遭到暴力破坏时,将信号传送给控制器,通过控制器实现电机工作,电机控制内螺纹套筒旋转,进而实现螺纹连接的螺纹杆带动壳体向外移动,便于通过摄像头对窃贼进行拍照取证,同时拍照完毕壳体可以通过电机自动收纳进收纳腔内,防止窃贼对摄像头进行破坏,毁灭证据。


