授权公布号:CN217602399U
一种装甲门明铰链
有效
申请
2022-04-08
申请公布
1970-01-01
授权
2022-10-18
预估到期
2032-04-08
| 申请号 | CN202220801480.1 |
| 申请日 | 2022-04-08 |
| 授权公布号 | CN217602399U |
| 授权公告日 | 2022-10-18 |
| 分类号 | E05D7/04;E05D3/06;E05D5/02 |
| 分类 | 锁;钥匙;门窗零件;保险箱; |
| 申请人名称 | 惠州市华日门业有限公司 |
| 申请人地址 | 广东省惠州市三栋镇田心福长岭 |
专利法律状态
2022-10-18
授权
状态信息
授权
摘要
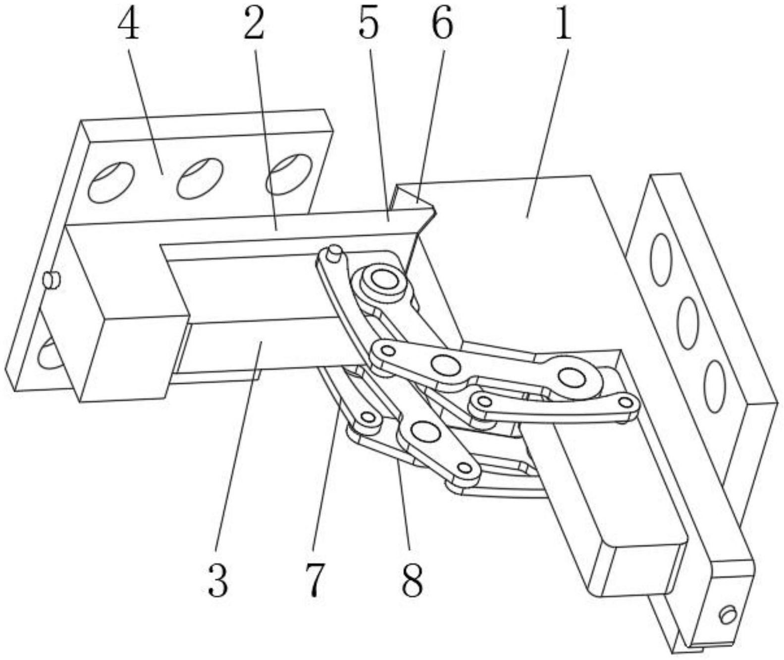
本实用新型涉及铰链技术领域,具体是一种装甲门明铰链,所述第一合页的一端活动安装有第二合页,且第一合页与第二合页的内侧均安装有连接座,两个所述连接座的之间均对称安装有相互转动连接的第二连接杆,且两个连接座上位于第二连接杆的一侧均转动安装有与第二连接杆末端铰接的第一连接杆,所述第一合页与第二合页的背侧均滑动安装有安装板,且第一合页与第二合页的背侧均开设有滑槽。本实用新型结构简单、设计新颖,通过螺纹杆与滑块之间的螺纹连接使得滑块在滑槽内部滑动,从而调节安装板在第一合页、第二合页上的位置,继而可以实现设备安装时的调节,从而降低了设备的精度需求,提高安装时的方便性。


