授权公布号:CN217151765U
一种便于组装的装甲门
有效
申请
2022-03-29
申请公布
1970-01-01
授权
2022-08-09
预估到期
2032-03-29
| 申请号 | CN202220697886.X |
| 申请日 | 2022-03-29 |
| 授权公布号 | CN217151765U |
| 授权公告日 | 2022-08-09 |
| 分类号 | E06B5/11;E06B3/36;E05C9/06;E05B1/00 |
| 分类 | 一般门、窗、百叶窗或卷辊遮帘;梯子; |
| 申请人名称 | 惠州市华日门业有限公司 |
| 申请人地址 | 广东省惠州市三栋镇田心福长岭 |
专利法律状态
2022-08-09
授权
状态信息
授权
摘要
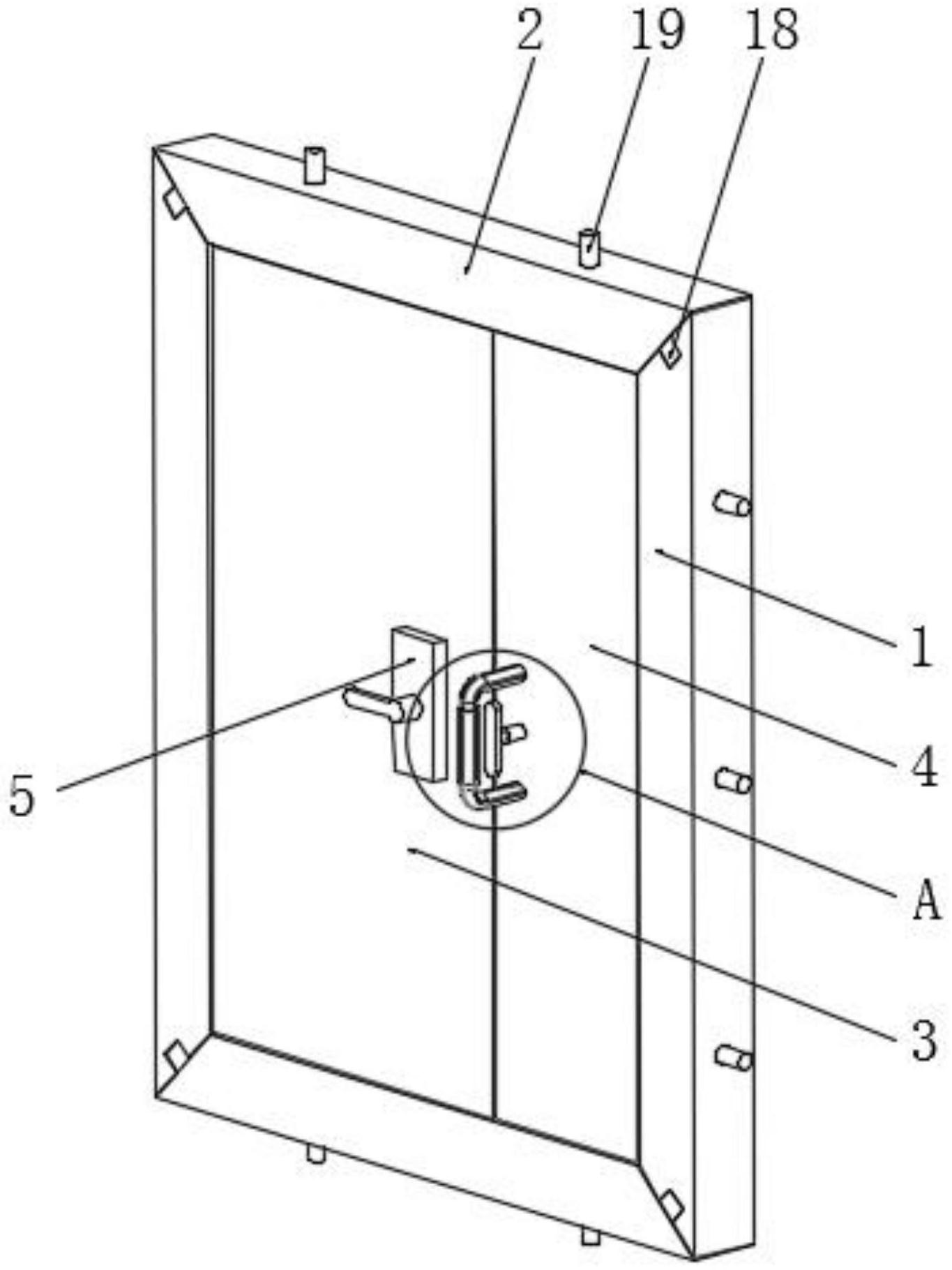
本实用新型涉及装甲门技术领域,具体是一种便于组装的装甲门,两个所述门框立柱之间位于上下两端位置处对称设置有两个门框横梁,其中一个所述门框立柱的一侧转动连接有母门,另一个所述门框立柱的一侧转动连接有子门,所述母门的内部一侧安装有门锁,所述子门与两个门框横梁之间设置有子门锁定机构。本实用新型设计新颖,通过子门锁定机构,可以对子门进行锁定,操作步骤简单,且结构简单可靠,占用空间小,通过组合滑条与组合滑槽之间的滑动连接配合,并通过固定螺栓将门框立柱和门框横梁安装于墙体内部,减小了安装难度,而且提高了门框整体的安装精度。


