授权公布号:CN213980253U
一种雕花艺术围栏
有效
申请
2020-09-09
申请公布
1970-01-01
授权
2021-08-17
预估到期
2030-09-09
| 申请号 | CN202021951470.3 |
| 申请日 | 2020-09-09 |
| 授权公布号 | CN213980253U |
| 授权公告日 | 2021-08-17 |
| 分类号 | E04H17/16;E04H17/20 |
| 分类 | 建筑物; |
| 申请人名称 | 上海浦宇铜艺装饰工程股份有限公司 |
| 申请人地址 | 上海市青浦区重固镇新康路875号 |
专利法律状态
2021-08-17
授权
状态信息
授权
摘要
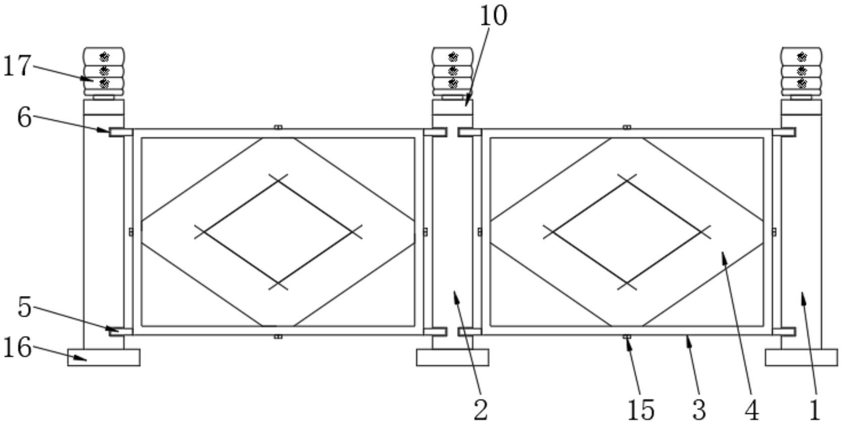
本实用新型涉及围栏技术领域,尤其涉及一种雕花艺术围栏,包括边立柱和中间立柱,所述边立柱和中间立柱相靠近的一侧之间设置有栏板安装框架,并且栏板安装框架的内侧设置有雕花板,所述栏板安装框架两侧的顶部和底部均固定连接有耳板。本实用新型通过边立柱和中间立柱,边立柱和中间立柱相靠近的一侧之间设置有栏板安装框架,并且栏板安装框架的内侧设置有雕花板,栏板安装框架两侧的顶部和底部均固定连接有耳板,相比现有焊接或简单螺栓固定的连接方式,能够实现围栏的方便便捷拆装操作,除边立柱和中间立柱的施工外无需借助工具,操作简便,有助于围栏施工的时间缩短,提高施工和维护效率,节省人力。


