授权公布号:CN216841140U
一种超重型偏心地轴门控系统
有效
申请
2021-11-04
申请公布
1970-01-01
授权
2022-06-28
预估到期
2031-11-04
| 申请号 | CN202122733538.1 |
| 申请日 | 2021-11-04 |
| 授权公布号 | CN216841140U |
| 授权公告日 | 2022-06-28 |
| 分类号 | E05F7/06 |
| 分类 | 锁;钥匙;门窗零件;保险箱; |
| 申请人名称 | 上海浦宇铜艺装饰工程股份有限公司 |
| 申请人地址 | 上海市青浦区重固镇新康路875号 |
专利法律状态
2022-06-28
授权
状态信息
授权
摘要
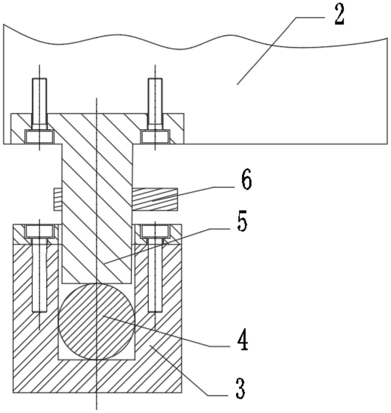
本实用新型属于地轴门领域,具体公开了一种超重型偏心地轴门控系统,包括门框体、门体、液压系统与超重地轴结构,所述门体可转动设于门框体内,门体上装有超重地轴结构;所述超重地轴结构包括耐磨球壳、耐磨钢球与耐磨承重主轴,其中耐磨球壳可通过固定件固定在底部钢板上,耐磨球壳内侧设有一球壳腔,且该球壳腔内设有耐磨钢球;所述耐磨承重主轴通过螺钉装于门体上,耐磨承重主轴上设有耐磨凸轮轨道,耐磨承重主轴底端伸进耐磨球壳的球壳腔内侧并与耐磨钢球接触。本实用新型的地轴系统能有效解决门厚的同时可以缩小门缝,简化安装方式,而且通过承重主轴受力方式的改变,使地弹簧旋转主轴在使用过程中能承受更大重量,更耐磨不易损坏。


