授权公布号:CN209742636U
一种铝塑门窗共挤型材
有效
申请
2019-01-23
申请公布
1970-01-01
授权
2019-12-06
预估到期
2029-01-23
| 申请号 | CN201920113865.7 |
| 申请日 | 2019-01-23 |
| 授权公布号 | CN209742636U |
| 授权公告日 | 2019-12-06 |
| 分类号 | E06B3/263;E06B7/14 |
| 分类 | 一般门、窗、百叶窗或卷辊遮帘;梯子; |
| 申请人名称 | 柯美特建材集团股份有限公司 |
| 申请人地址 | 四川省眉山市丹棱县丹棱镇机械产业园区 |
专利法律状态
2019-12-06
授权
状态信息
授权
摘要
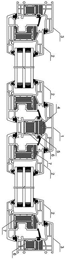
本实用新型公开了一种铝塑门窗共挤型材,属于门窗型材技术领域,包括窗框型材、窗扇型材和窗梃型材,中部的窗扇型材对称的密封连接在窗梃型材的两侧,侧部的窗框型材与侧部的窗扇型材密封连接,所述窗梃型材包括分别位于上端和下端的第一排水腔以及位于中部的第一保温腔,所述第一保温腔内设置有与第一保温腔相匹配的第一钢衬组件,所述第一钢衬组件包括分别位于一相对侧的第一衬板A和分别位于另一相对侧的第二衬板A,所述第一衬板A和第二衬板A首尾配合连接的围合成内衬型腔。本实用新型能够有效的防止保温腔的侧边发生形变以及更好的进行支撑,结构更加稳定,强度进一步提高。


