授权公布号:CN216767195U
一种门窗安装热桥阻隔型材与门窗框的连接形式
有效
申请
2021-12-27
申请公布
1970-01-01
授权
2022-06-17
预估到期
2031-12-27
| 申请号 | CN202123314231.4 |
| 申请日 | 2021-12-27 |
| 授权公布号 | CN216767195U |
| 授权公告日 | 2022-06-17 |
| 分类号 | E06B5/16;E06B1/02;E06B1/36;E06B3/34;E06B1/58;E06B1/60;E06B1/64;E06B1/68;E06B3/964 |
| 分类 | 一般门、窗、百叶窗或卷辊遮帘;梯子; |
| 申请人名称 | 河北胜达智通新型建材有限公司 |
| 申请人地址 | 河北省保定市乐凯北大街3879号 |
专利法律状态
2022-06-17
授权
状态信息
授权
摘要
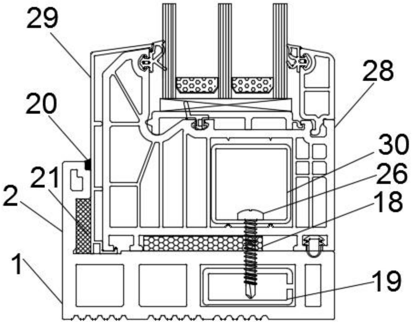
本实用新型公开了一种门窗安装热桥阻隔型材与门窗框的连接形式,包括门窗安装热桥阻隔型材和窗框,所述窗框固定安装在所述门窗安装热桥阻隔型材上,所述门窗安装热桥阻隔型材主体为长方体,所述门窗安装热桥阻隔型材主体上依次设置有第一腔室、第二腔室、第三腔室和第四腔室;所述窗框内设置有窗框钢衬,所述第三腔室内设置有钢衬,所述窗框钢衬通过第一螺钉连接所述钢衬。本实用新型门窗安装热桥阻隔型材与门窗框的连接形式结构简单,适用范围广,避免了冷桥的产生,解决了现有的门窗安装型材与门窗框的连接形式不方便对被动式门窗进行安装和拆卸,甚至拆装时需要破坏室外的保温结构,施工极为不便的问题。


