授权公布号:CN220565936U
一种窄边框铝包塑框扇平齐结构
有效
申请
2023-08-02
申请公布
1970-01-01
授权
2024-03-08
预估到期
2033-08-02
| 申请号 | CN202322062449.8 |
| 申请日 | 2023-08-02 |
| 授权公布号 | CN220565936U |
| 授权公告日 | 2024-03-08 |
| 分类号 | E06B3/263;E06B3/96;E06B9/52;E06B7/14;E06B7/23 |
| 分类 | 一般门、窗、百叶窗或卷辊遮帘;梯子; |
| 申请人名称 | 河北胜达智通新型建材有限公司 |
| 申请人地址 | 河北省保定市乐凯北大街3879号 |
专利法律状态
2024-03-08
授权
状态信息
授权
摘要
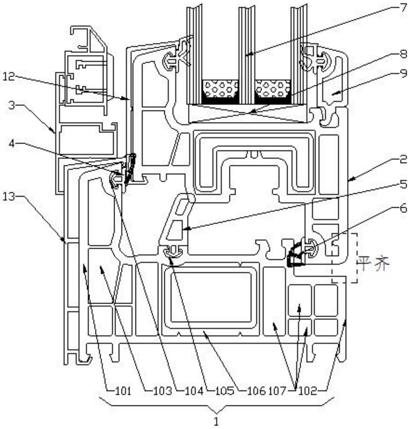
本实用新型公开了一种窄边框铝包塑框扇平齐结构,属于门窗技术领域,包括窄边框和中挺,窄边框和中挺从窗外向窗内依次设置有限位框、排水腔、若干个保温腔、钢衬腔和框体内壁,若干个保温腔分布在钢衬腔的两侧;窄边框/中挺的上方右侧位置上设置有内平开扇,内平开扇与框体内壁竖直方向平齐;窄边框/中挺的上方左侧位置上设置有一体式金刚网纱窗,内平开扇位于窗外的一侧设置有扇扣铝,限位框位于窗外的一侧设置有框扣铝。本实用新型节省材料,保温性能更优,外观美观,便于卫生打理,增强了框扇结构强度,延长使用寿命,并使得室内呈现平整效果。


