授权公布号:CN212653098U
一种防火窗加工用切割用定位装置
失效
申请
2020-05-18
申请公布
1970-01-01
授权
2021-03-05
预估到期
2030-05-18
| 申请号 | CN202020834967.0 |
| 申请日 | 2020-05-18 |
| 授权公布号 | CN212653098U |
| 授权公告日 | 2021-03-05 |
| 分类号 | B23Q3/18;B23Q11/00;B23D79/00 |
| 分类 | 机床;不包含在其他类目中的金属加工; |
| 申请人名称 | 南昌洪都消防设备有限公司 |
| 申请人地址 | 江西省南昌市经济技术开发区青岚大道 |
专利法律状态
2023-06-09
专利权的终止
状态信息
未缴年费专利权终止;IPC(主分类):B23Q3/18;申请日:20200518;授权公告日:20210305
2021-03-05
授权
状态信息
授权
摘要
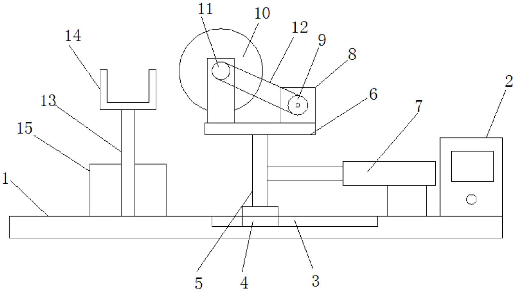
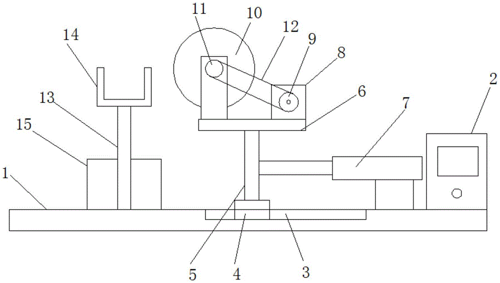
本实用新型公开了一种防火窗加工用切割用定位装置,属于防火窗加工领域,包括底座,所述底座上表面的一侧安装有控制箱,底座上表面沿长度方向开设有滑槽,滑槽内滑动连接有滑块,滑块上焊接有固定杆,底座上通过安装座一安装有液压缸,液压缸的活塞杆固定在固定杆的一侧,固定杆的顶端焊接有固定板,固定板上表面的一侧安装有电机一,电机一的输出轴安装有皮带轮一,固定板上表面的另一侧安装有切割轮,切割轮的转动轴安装有皮带轮二,皮带轮二和皮带轮一之间连接有皮带;本实用新型设计新颖,可自动的对铝材进行切割,切割时对铝材进行定位,切割效果好,大大的提高了工作效率,且安全性高,值得推广。


