授权公布号:CN220395544U
一种便于拆装的防火门
有效
申请
2023-04-03
申请公布
1970-01-01
授权
2024-01-26
预估到期
2033-04-03
| 申请号 | CN202320705282.X |
| 申请日 | 2023-04-03 |
| 授权公布号 | CN220395544U |
| 授权公告日 | 2024-01-26 |
| 分类号 | E06B5/16;E06B1/52;E06B1/60;E06B3/70;E06B7/30;E05B1/00;E05F1/12 |
| 分类 | 一般门、窗、百叶窗或卷辊遮帘;梯子; |
| 申请人名称 | 南昌洪都消防设备有限公司 |
| 申请人地址 | 江西省南昌市南昌经济技术开发区高椅山一路119号-2 |
专利法律状态
2024-01-26
授权
状态信息
授权
摘要
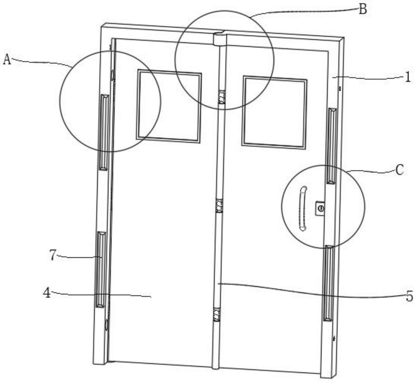
本实用新型涉及防火门技术领域,特别是一种便于拆装的防火门,包括防火门框,所述防火门框从中部分成两部分,所述防火门框顶部的中心处转动连接有第一转轴,两部分所述防火门框通过第一转轴转动连接,所述防火门框的内侧转动连接有第二转轴,所述防火门框通过第二转轴转动连接有防火门板,所述防火门板的中部转动连接有第三转轴。本实用新型的优点在于:通过将防火门框设置成可以相互转动的两部分,在运输时能够将两部分防火门框和防火门板折叠进行收纳运输,并通过防火门框上的磁板将两部分防火门框折叠固定,使防火门的运输搬运更加方便,且在安装防火门框时,可以先将两部分防火门框轻微折叠进入安装位置后再将其展开与安装位置完全重合。


