授权公布号:CN212652027U
一种防火门窗加工用喷漆装置
有效
申请
2020-05-18
申请公布
1970-01-01
授权
2021-03-05
预估到期
2030-05-18
| 申请号 | CN202020832612.8 |
| 申请日 | 2020-05-18 |
| 授权公布号 | CN212652027U |
| 授权公告日 | 2021-03-05 |
| 分类号 | B05B15/62;B05B13/02;B05B15/625 |
| 分类 | 一般喷射或雾化;对表面涂覆液体或其他流体的一般方法〔2〕; |
| 申请人名称 | 南昌洪都消防设备有限公司 |
| 申请人地址 | 江西省南昌市经济技术开发区青岚大道 |
专利法律状态
2021-03-05
授权
状态信息
授权
摘要
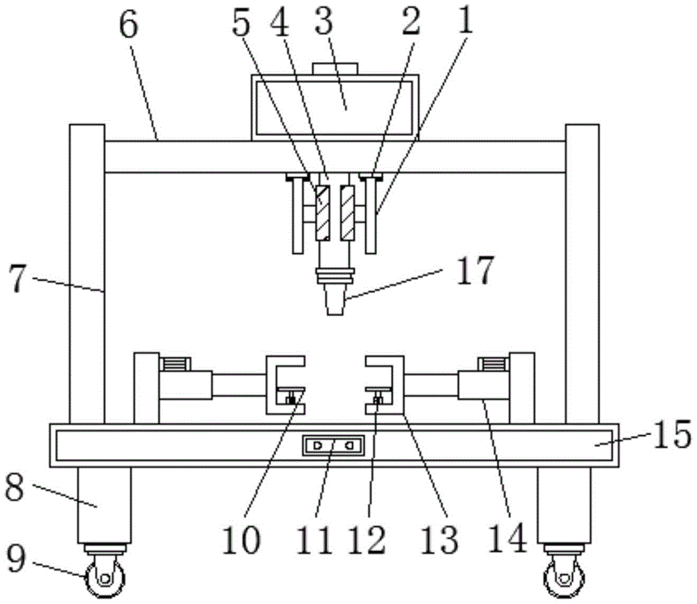
本实用新型公开了一种防火门窗加工用喷漆装置,属于喷漆技术领域,包括工作台,所述工作台的上方设置有两个固定板和电动伸缩杆,所述电动伸缩杆位于两个固定板之间,两个所述固定板之间固定连接有连接板,所述连接板的上方设置有油漆箱,且连接板的下方设置有两个安装块和喷漆管,所述喷漆管位于两个安装块之间,所述油漆箱和喷漆管固定连接,两个所述安装块的下方均焊接固定有固定杆,该一种防火门窗加工用喷漆装置通过设置固定杆、安装块和限位套,安装块便于将固定杆安装在油漆管的两侧,可通过限位套卡合在油漆管上,对油漆管进行固定,防止油漆管输送油漆时容易带动喷头晃动,导致喷头容易喷偏。


