授权公布号:CN202584253U
一种门禁卡回收装置及具有该回收装置的安防门系统
有效
申请
2012-04-18
申请公布
1970-01-01
授权
2012-12-05
预估到期
2022-04-18
| 申请号 | CN201220167041.6 |
| 申请日 | 2012-04-18 |
| 授权公布号 | CN202584253U |
| 授权公告日 | 2012-12-05 |
| 分类号 | G07C9/00 |
| 分类 | 核算装置; |
| 申请人名称 | 北京宝盾门业技术有限公司 |
| 申请人地址 | 北京市大兴区经济技术开发区同济北路10号 |
专利法律状态
2012-12-05
授权
状态信息
授权
摘要
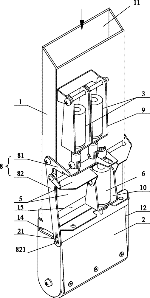
本实用新型公开了一种门禁卡回收装置及具有该回收装置的安防门系统,一种门禁卡回收装置,其筒体竖向设置,且上游端开有入卡口、下游端开有相对设置的无效卡出口和有效卡出口;分卡部件置于无效卡出口和有效卡出口之间,与筒体铰接的分卡部件可在无效卡工位和有效卡工位之间切换,以建立内部通道与无效卡出口或者有效卡出口之间的导通;第一驱动部件的动力输出端与分卡部件连接,驱动分卡部件在无效卡工位和有效卡工位之间切换;读卡器置于分卡部件的上游侧,读卡器用于识别卡有效信息并输出至控制器;控制器根据接收的卡有效信息,输出动作控制信号至第一驱动部件。该回收装置能够可靠进行“裸卡”及套装在卡套内的“访客卡”回收在此基础上,本实用新型还提供一种具有该回收装置的安防门系统。


