授权公布号:CN101122205B
旋转门的中心锁定装置
有效
申请
2007-07-31
申请公布
2008-02-13
授权
2010-12-01
预估到期
2027-07-31
| 申请号 | CN200710119825.5 |
| 申请日 | 2007-07-31 |
| 申请公布号 | CN101122205A |
| 申请公布日 | 2008-02-13 |
| 授权公布号 | CN101122205B |
| 授权公告日 | 2010-12-01 |
| 分类号 | E06B3/90 |
| 分类 | 一般门、窗、百叶窗或卷辊遮帘;梯子; |
| 申请人名称 | 北京宝盾门业技术有限公司 |
| 申请人地址 | 北京市经济技术开发区同济北路10号 |
专利法律状态
2010-12-01
授权
状态信息
授权
2008-04-09
实质审查的生效
状态信息
实质审查的生效
2008-02-13
公布
状态信息
公布
摘要
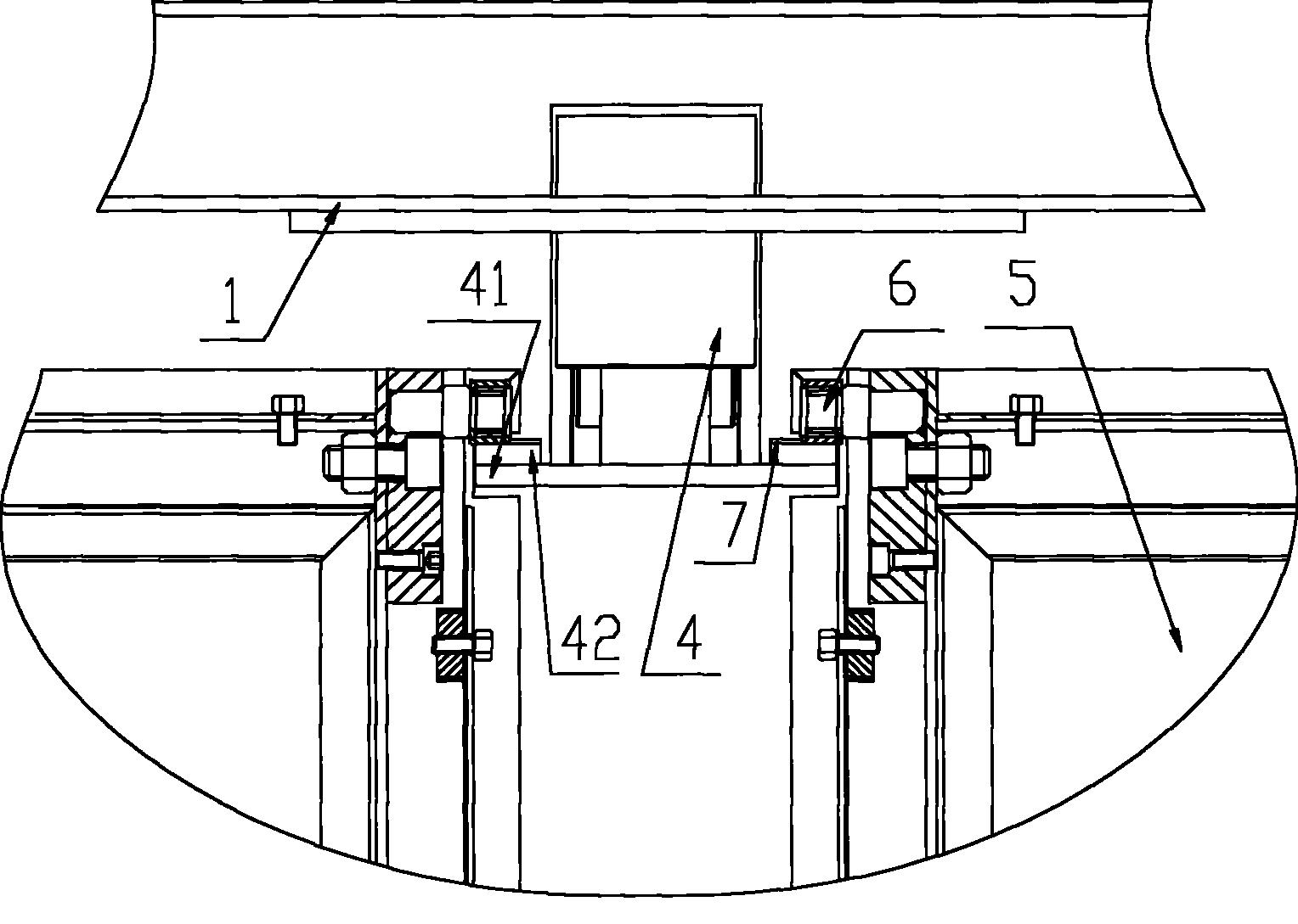
本发明公开了一种旋转门的中心锁定装置,用于固定旋转门的门翼,所述中心锁定装置包括其顶部与所述旋转门的上转盘中心位置固定连接的连接柱体,所述连接柱体的底部固定连接支撑座,所述旋转门门翼外侧框通过门翼固定轴与所述旋转门上转盘枢接,所述旋转门门翼远离所述门翼固定轴一侧顶部固定安装定位部件,所述定位部件由所述支撑座定位。本发明提供的旋转门中心锁定机构可以使门翼沿所述门翼固定轴旋转打开,使得所述定位部件与所述支撑座相分离,因而能够提供一个较为宽敞的通道,在紧急情况下可以使人员流通得更为顺畅,并能使大件物品和小型车辆通过。


