授权公布号:CN203947931U
用于弧形平移门的防脱落门体吊挂装置
有效
申请
2014-07-18
申请公布
1970-01-01
授权
2014-11-19
预估到期
2024-07-18
| 申请号 | CN201420397397.8 |
| 申请日 | 2014-07-18 |
| 授权公布号 | CN203947931U |
| 授权公告日 | 2014-11-19 |
| 分类号 | E05D13/00 |
| 分类 | 锁;钥匙;门窗零件;保险箱; |
| 申请人名称 | 上海乘方自动门科技有限公司 |
| 申请人地址 | 上海市嘉定区高石公路2439号 |
专利法律状态
2014-11-19
授权
状态信息
授权
摘要
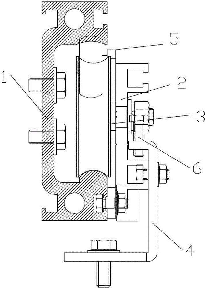
本实用新型涉及一种用于弧形平移门的防脱落门体吊挂装置,包括弧形轨道、弧形座板和滚动轮组件,弧形轨道与弧形座板的曲率相同,滚动轮组件沿着弧形轨道滑动,滚动轮组件与弧形座板连接,弧形座板与滚动轮组件同步移动,弧形座板与吊挂座固定连接,弧形门体固定连接于吊挂座。采用了该结构的用于弧形平移门的防脱落门体吊挂装置,结构简单,易于装配和加工,弧形导轨为一体式的型材,轨道厚实且不易变形;弧形座板与弧形导轨的弧度一致,使得弧形门体可以在弧形轨道上运行自如;该吊挂装置采用大滑轮滚动,使得噪音进一步减小;该吊挂装置还采用了上部的防脱装置,使得竖直放置的门体更加平稳、不易脱落。


