授权公布号:CN218438999U
一种平衡门用门扇下横框型材
有效
申请
2022-08-29
申请公布
1970-01-01
授权
2023-02-03
预估到期
2032-08-29
| 申请号 | CN202222274893.1 |
| 申请日 | 2022-08-29 |
| 授权公布号 | CN218438999U |
| 授权公告日 | 2023-02-03 |
| 分类号 | E06B3/58;E06B3/36;E06B3/66;E06B3/56 |
| 分类 | 一般门、窗、百叶窗或卷辊遮帘;梯子; |
| 申请人名称 | 上海乘方自动门科技有限公司 |
| 申请人地址 | 上海市嘉定区华亭镇高石公路2439号6幢2层 |
专利法律状态
2023-02-03
授权
状态信息
授权
摘要
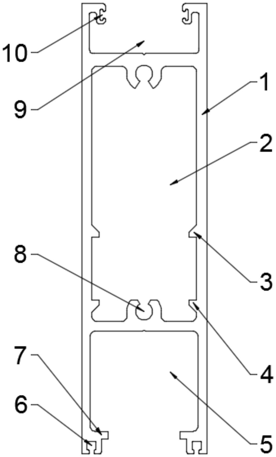
本实用新型涉及一种平衡门用门扇下横框型材,属于平衡门技术领域,包括横框本体,一端设有旋转臂和锁具安装腔体,另一端设有玻璃安装槽;加强腔体,开设在所述横框本体中部,所述加强腔体内设有用于安装门扇下转轴的加强安装件。本实用新型通过设置旋转臂和锁具安装腔体、玻璃安装槽和加强腔体配合,既能与旋转臂连接,又能安装玻璃和门扇下转轴,还可以通过横框本体与门扇竖框连接,既节省时间方便生产,又方便维护。


