授权公布号:CN218439031U
一种三翼旋转门用门扇框型材
有效
申请
2022-08-29
申请公布
1970-01-01
授权
2023-02-03
预估到期
2032-08-29
| 申请号 | CN202222274955.9 |
| 申请日 | 2022-08-29 |
| 授权公布号 | CN218439031U |
| 授权公告日 | 2023-02-03 |
| 分类号 | E06B3/90;E06B3/56;E06B7/22 |
| 分类 | 一般门、窗、百叶窗或卷辊遮帘;梯子; |
| 申请人名称 | 上海乘方自动门科技有限公司 |
| 申请人地址 | 上海市嘉定区华亭镇高石公路2439号6幢2层 |
专利法律状态
2023-02-03
授权
状态信息
授权
摘要
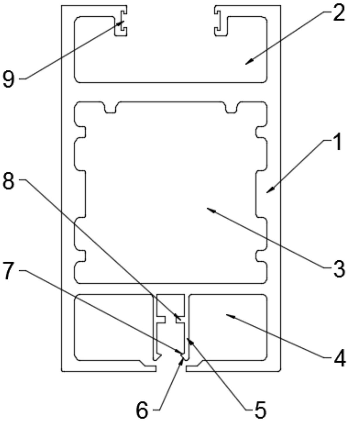
本实用新型涉及一种三翼旋转门用门扇框型材,属于三翼旋转门技术领域,包括门扇框体,中部开设有固定架安装空腔,所述门扇框体一端设有玻璃安装槽,另一端设有毛刷条安装槽;玻璃安装件,设置在所述玻璃安装槽内,用于将门扇玻璃一端安装固定在玻璃安装槽内;毛刷条安装件,设置在所述毛刷条安装槽内,用于拆装毛刷条;固定件,贯穿所述固定架安装空腔,用于将固定架安装固定在固定架安装空腔内。本实用新型充分利用了门扇框体与毛刷条安装件一体加工使用的优点,使得仓管、采购、生产环节中减少很多流程环节;既能安装玻璃,又能与三角架固定和安装毛刷条的功能,即方便生产节省时间,又方便维护。


