授权公布号:CN218439032U
一种三翼旋转门用外壁立柱型材
有效
申请
2022-08-29
申请公布
1970-01-01
授权
2023-02-03
预估到期
2032-08-29
| 申请号 | CN202222275024.0 |
| 申请日 | 2022-08-29 |
| 授权公布号 | CN218439032U |
| 授权公告日 | 2023-02-03 |
| 分类号 | E06B3/90 |
| 分类 | 一般门、窗、百叶窗或卷辊遮帘;梯子; |
| 申请人名称 | 上海乘方自动门科技有限公司 |
| 申请人地址 | 上海市嘉定区华亭镇高石公路2439号6幢2层 |
专利法律状态
2023-02-03
授权
状态信息
授权
摘要
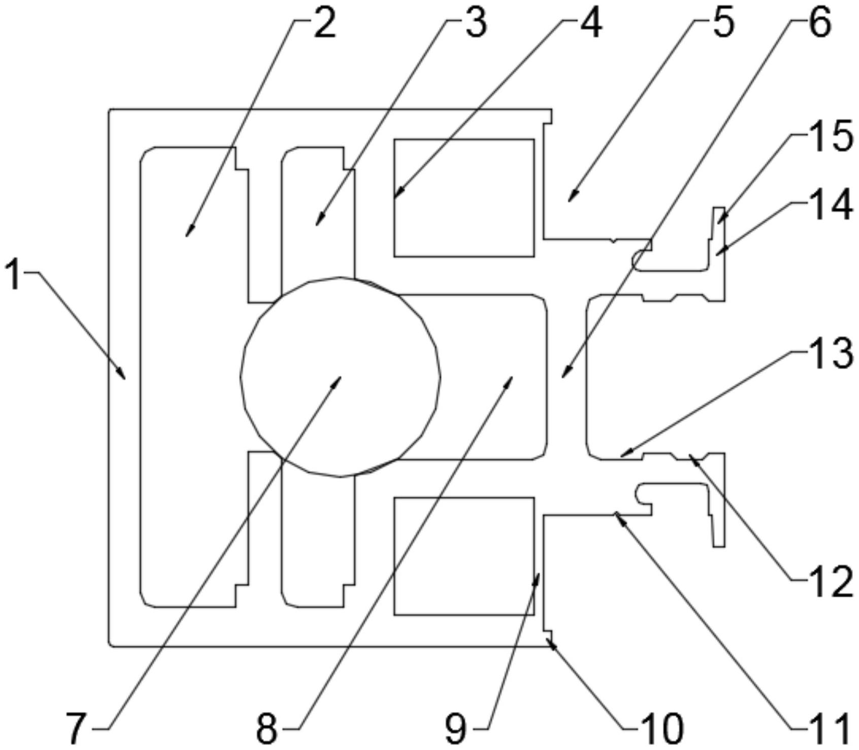
本实用新型涉及一种三翼旋转门用外壁立柱型材,属于旋转门技术领域,包括立柱本体,内部设有背母板安装槽、定位块配合槽和信号线槽;扣板卡槽,开设在所述立柱本体一端;下围屏安装槽口,开设在所述立柱本体一端,所述下围屏安装槽口设置在扣板卡槽两侧;加强件,安装在所述立柱本体上并与其一体成型,用于提高立柱本体的强度。本实用新型的立柱本体既能与地面和帽头连接,又能安装下围屏及弧形玻璃和出入口防撞胶条,此外还具有安装触摸屏和控制面板开关的功能,既方便生产节省时间,又方便维护。


