授权公布号:CN106130250B
两翼旋转门自调心驱动装置
有效
申请
2016-06-30
申请公布
2016-11-16
授权
2019-05-24
预估到期
2036-06-30
| 申请号 | CN201610505182.7 |
| 申请日 | 2016-06-30 |
| 申请公布号 | CN106130250A |
| 申请公布日 | 2016-11-16 |
| 授权公布号 | CN106130250B |
| 授权公告日 | 2019-05-24 |
| 分类号 | H02K7/10 |
| 分类 | 发电、变电或配电; |
| 申请人名称 | 上海乘方自动门科技有限公司 |
| 申请人地址 | 上海市嘉定区高石公路2439号 |
专利法律状态
2019-05-24
授权
状态信息
授权
2016-12-14
实质审查的生效
状态信息
实质审查的生效IPC(主分类):H02K 7/10申请日:20160630
2016-11-16
公布
状态信息
公开
摘要
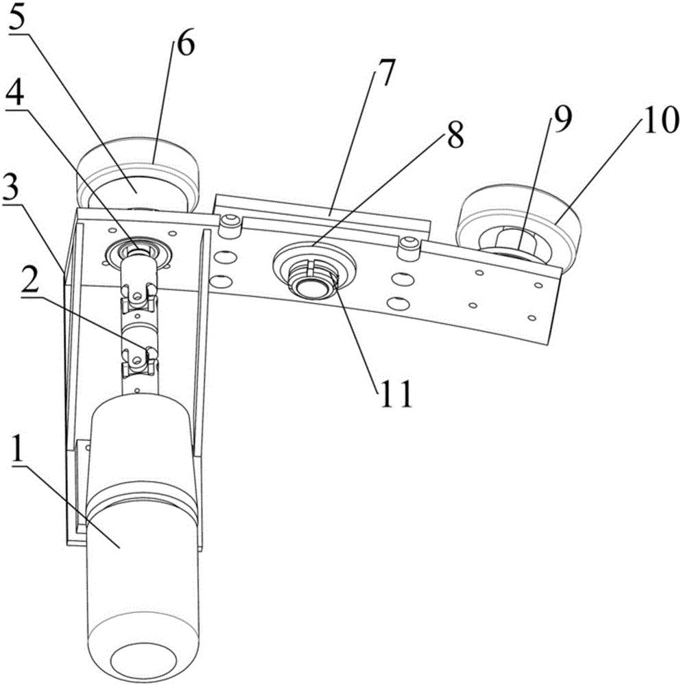
本发明涉及一种两翼旋转门自调心驱动装置,其中包括电机和电机座,所述的电机固定在电机座的一端,所述的电机的输出轴通过联轴器与主动轴的一端相连接,所述的主动轴的另一端与主动轮固定连接,所述的电机座的中部设有中心轴座,所述的电机座的另一端设有辅助轮,所述的辅助轮通过一辅助轮轴与电机座相连接。采用该种结构的两翼旋转门自调心驱动装置,通过在电机座的中部设有中心轴座,使得整个驱动装置更加稳固,在工作过程中调心效果更显著,在电机座的另一端设有辅助轮,可以减少对主动轮的受力,延长主动轮的使用寿命,同时中心轴座与电机座是通过压板和圆螺母固定连接,可以防止螺母松脱,加强了结构的稳固性,同时也节约了经济成本。


