授权公布号:CN212656709U
水晶旋转门的驱动机构传动轴双轴承同心平稳导向装置
有效
申请
2020-05-29
申请公布
1970-01-01
授权
2021-03-05
预估到期
2030-05-29
| 申请号 | CN202020963968.5 |
| 申请日 | 2020-05-29 |
| 授权公布号 | CN212656709U |
| 授权公告日 | 2021-03-05 |
| 分类号 | F16C19/54;E05F15/608;E06B3/90 |
| 分类 | 锁;钥匙;门窗零件;保险箱; |
| 申请人名称 | 上海乘方自动门科技有限公司 |
| 申请人地址 | 上海市嘉定区华亭镇高石公路2439号6幢 |
专利法律状态
2021-03-05
授权
状态信息
授权
摘要
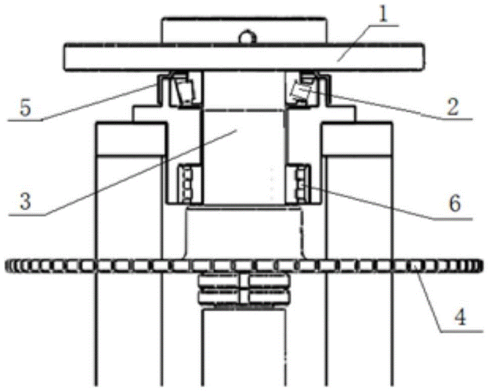
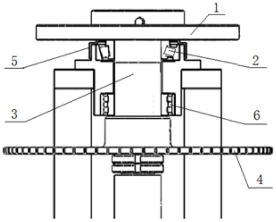
水晶旋转门的驱动机构传动轴双轴承同心平稳导向装置,传动轴(3)上端安装圆锥滚子轴承(2),传动轴(3)下端安装圆柱滚子轴承(6),在圆锥滚子轴承(2)外套接防尘套(5)。通过增设驱动机构双轴承同心导向结构协同配合,增加机械结构可靠性,保证传动轴的同轴度和强度,保证驱动装置传动轴与门体中线的同心度,安装施工和运行使用可靠,轴承受损机率大幅降低。使得门体在运行过程中,平稳完成旋转动作,装置结构简单高效,大幅降低维修成本。


