授权公布号:CN207643040U
夹具装置
有效
申请
2017-12-15
申请公布
1970-01-01
授权
2018-07-24
预估到期
2027-12-15
| 申请号 | CN201721756993.0 |
| 申请日 | 2017-12-15 |
| 授权公布号 | CN207643040U |
| 授权公告日 | 2018-07-24 |
| 分类号 | B25B27/02 |
| 分类 | 手动工具;轻便机动工具;手动器械的手柄;车间设备;机械手; |
| 申请人名称 | 上海乘方自动门科技有限公司 |
| 申请人地址 | 上海市嘉定区高石公路2439号 |
专利法律状态
2018-07-24
授权
状态信息
授权
摘要
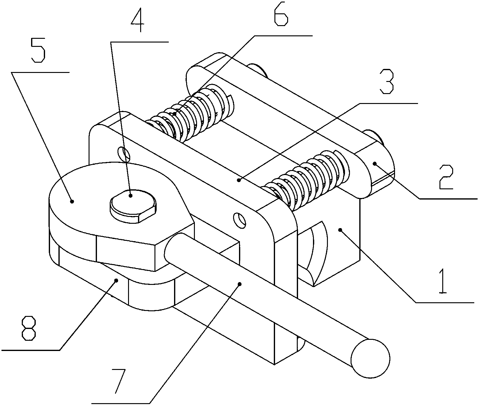
本实用新型涉及一种夹具装置,所述的夹具装置包括:基板,设置有固定块、活动块,所述的活动块设置成相对于所述的固定块可移动,且所述的活动块设置成在朝向所述的固定块移动时使所述的夹具装置产生夹持力;夹持部,所述的基板设置有夹持块,所述的活动块、所述的夹持块以及所述的活动块与所述的夹持块之间的空间形成所述的夹持部,所述的夹持部的轮廓设置成与待夹持组件的轮廓相匹配。采用了本实用新型的夹具装置,设计巧妙、结构简洁、使用寿命长,容易压合、操作简单、质量稳定、提高压合效率,在具体应用时,轻轻搬动转动手柄就可将导轨条、减震胶条与导轨组装在一起,提高工作效率。


