授权公布号:CN213234772U
用于旋转门扇固定架焊固安装的三叉定位装置
有效
申请
2020-06-05
申请公布
1970-01-01
授权
2021-05-18
预估到期
2030-06-05
| 申请号 | CN202021027579.8 |
| 申请日 | 2020-06-05 |
| 授权公布号 | CN213234772U |
| 授权公告日 | 2021-05-18 |
| 分类号 | E06B3/90 |
| 分类 | 一般门、窗、百叶窗或卷辊遮帘;梯子; |
| 申请人名称 | 上海乘方自动门科技有限公司 |
| 申请人地址 | 上海市嘉定区华亭镇高石公路2439号6幢 |
专利法律状态
2021-05-18
授权
状态信息
授权
摘要
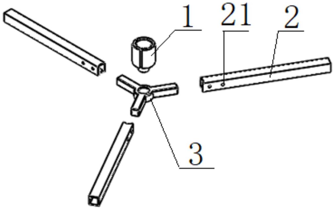
用于旋转门扇固定架焊固安装的三叉定位装置,包括轴套(1)、钢管(2)和三叉定位块(3);三叉定位块(3)中部为管状的套座(31),在套座(31)外缘均匀等夹角向外伸出三个叉臂(32);在套座(31)中心孔上套接轴套(1),在三个叉臂(32)外分别套接钢管(2)。钢管直接插入到三叉定位块,定位方便,节省钢管找正位置的时间,方便焊接操作。结构简明,易于制造安装应用,提升旋转门安装作业工效和品质,安装结构准确牢固稳定,增强旋转门抗风性,减少空调能源消耗。


