授权公布号:CN204728880U
弧形自动门机组皮带压轮装置
有效
申请
2015-06-29
申请公布
1970-01-01
授权
2015-10-28
预估到期
2025-06-29
| 申请号 | CN201520456100.5 |
| 申请日 | 2015-06-29 |
| 授权公布号 | CN204728880U |
| 授权公告日 | 2015-10-28 |
| 分类号 | E05F15/00;F16H7/20 |
| 分类 | 锁;钥匙;门窗零件;保险箱; |
| 申请人名称 | 上海乘方自动门科技有限公司 |
| 申请人地址 | 上海市嘉定区高石公路2439号 |
专利法律状态
2015-10-28
授权
状态信息
授权
摘要
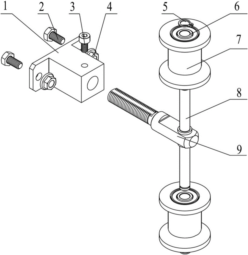
本实用新型涉及一种弧形自动门机组皮带压轮装置,其中包括皮带压轮轴座、皮带压轮轴架、皮带压轮轴、皮带压轮,皮带压轮固定于所述的皮带压轮轴上,皮带压轮轴插设于皮带压轮轴架中,皮带压轮轴架与所述的皮带压轮座相连接的一端设置有螺纹,皮带压轮架通过螺纹插设于所述的皮带压轮轴座中,且皮带压轮轴座通过螺钉径向定位,所述的螺纹的铣面朝上。采用该种结构的弧形自动门机组皮带压轮装置,保证了皮带压轮安装的垂直度,且保证了皮带压轮的轴承定位面有较高的跳动精度,有效避免了轴承易损坏带来的噪音大的问题以及通过所述的螺纹,使得压轮的压紧程度可调节,从而解决了皮带压轮轴架易拉偏脱落的问题,应用范围较为广泛。


