授权公布号:CN214054289U
一种导轨自动安装装置
有效
申请
2020-10-21
申请公布
1970-01-01
授权
2021-08-27
预估到期
2030-10-21
| 申请号 | CN202022356989.3 |
| 申请日 | 2020-10-21 |
| 授权公布号 | CN214054289U |
| 授权公告日 | 2021-08-27 |
| 分类号 | B23P19/027;B23P19/00 |
| 分类 | 机床;不包含在其他类目中的金属加工; |
| 申请人名称 | 宁波欧尼克科技有限公司 |
| 申请人地址 | 浙江省宁波市高新区晶源路78号 |
专利法律状态
2021-08-27
授权
状态信息
授权
摘要
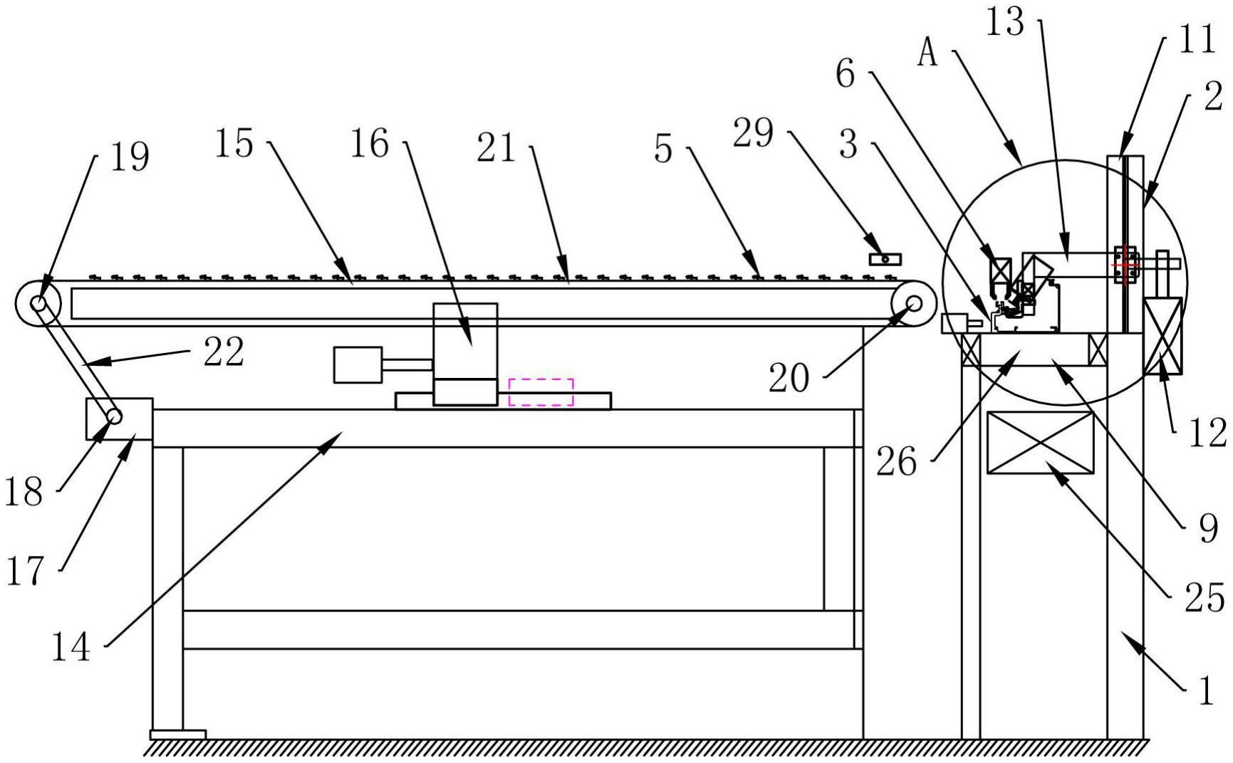
本实用新型公开一种导轨自动安装装置,包括:加工输送平台,加工输送平台上用于放置一自动门梁;升降机构,升降机构设于加工输送平台的一侧,升降机构上设有若干夹紧气缸、若干提升气缸和若干打击气缸,若干夹紧气缸、若干提升气缸、若干打击气缸分别沿加工输送平台的长度方向依次设置,若干提升气缸用于勾取并提升一导轨的一侧,使该一导轨的另一侧落入该一自动门梁的安装槽内,且导轨呈倾斜设置,若干夹紧气缸用于夹紧该一自动门梁与该一导轨的一侧,若干打击气缸用于敲打该一导轨的一侧,使该一导轨安装于该一自动门梁的安装槽内。本实用新型省时省力,提高了生产效率,降低了生产成本。


